LEMON Manuals: Even more car manuals for everyone: 1960-2025
Home >> Infiniti >> 2013 >> M37 Base >> Repair and Diagnosis >> Steering >> Manual Steering >> Steering System >> System Description >> System >> System Description (Heated Steering Wheel) >> System Diagram
April 5, 2026: LEMON Manuals is launched! Read the announcement.

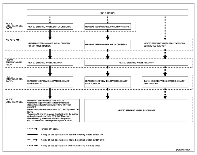
System Diagram

Fig 1: Steering System Diagram
G08891492Courtesy of NISSAN NORTH AMERICA, INC.