 |
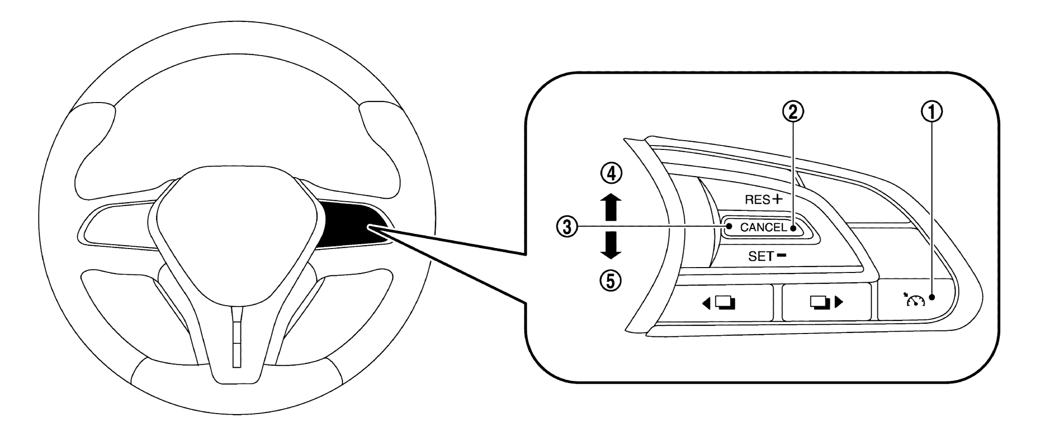
ASCD MAIN Switch |
Master Switch to activate the system |
 |
CANCEL Switch |
Deactivates system without erasing set speed |
 |
RESUME/ACCELERATE Switch |
Resumes set speed or increases speed incrementally |
 |
SET/COAST Switch |
Sets desired cruise speed or reduces speed incrementally |