LEMON Manuals: Even more car manuals for everyone: 1960-2025
Home >> Infiniti >> 2017 >> Q60 Base, AWD >> Repair and Diagnosis (Single Page) >> Accessories & Equipment >> Warning Systems >> Driver Assistance System (ADAS Control Unit) (Introduction, Basic Diagnosis, DTC/Circuit Diagnosis) (1 Of 2) >> DTC/Circuit Diagnosis >> DTC C1A13: Stop Lamp Relay >> ADAS Control Unit >> Component Inspection
April 5, 2026: LEMON Manuals is launched! Read the announcement.

Component Inspection

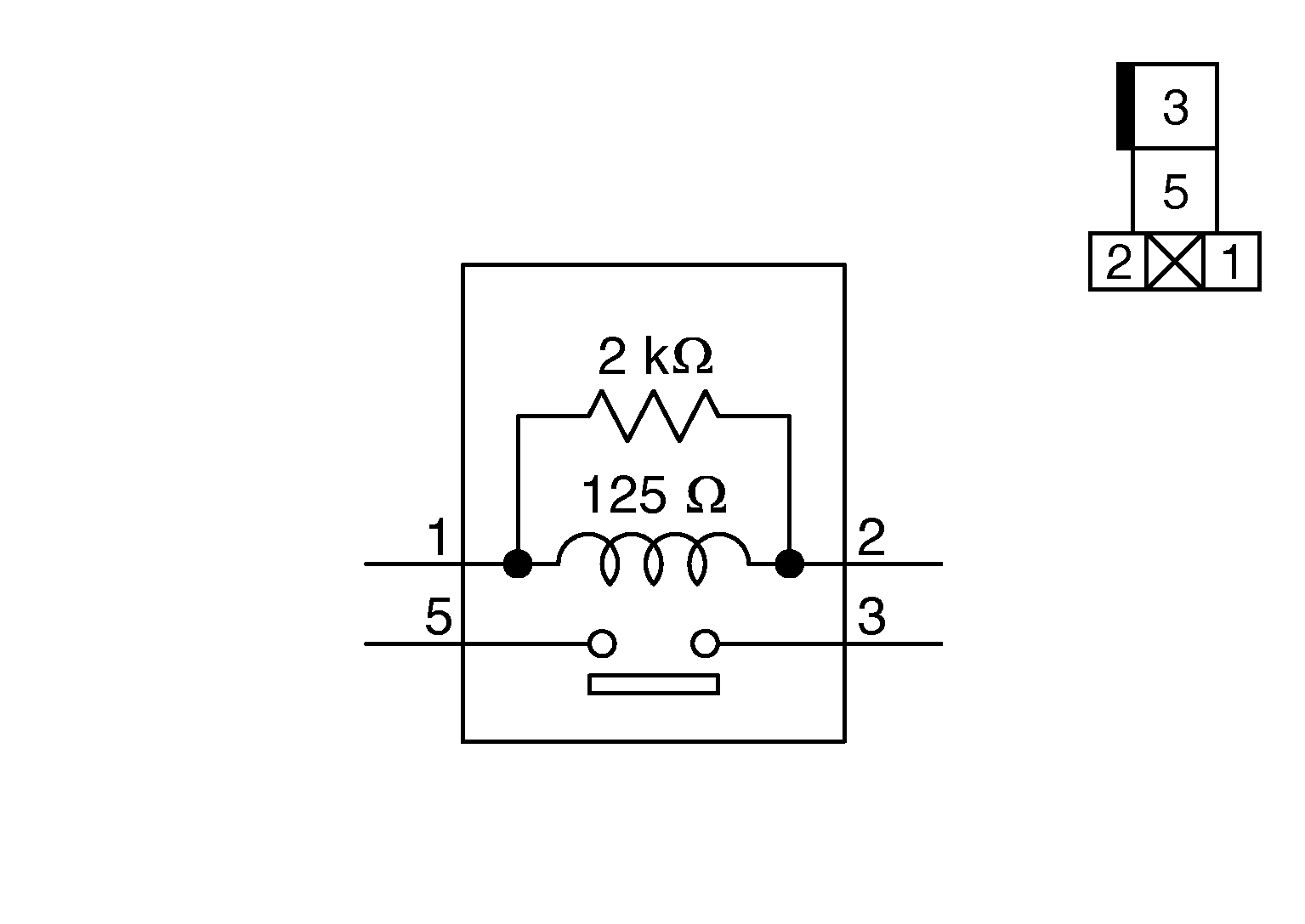
  1. CHECK ICC BRAKE HOLD RELAY

    Apply battery voltage to ICC brake hold relay terminals 1 and 2, and then check for continuity under the following conditions.

    G05223983Courtesy of NISSAN NORTH AMERICA, INC.
    Terminal Condition Continuity
    3 5 When the battery voltage is applied Existed
    When the battery voltage is not applied Not existed

    Is the inspection result normal?

    YES 

    INSPECTION END

    NO 

    Replace ICC brake hold relay.