LEMON Manuals: Even more car manuals for everyone: 1960-2025
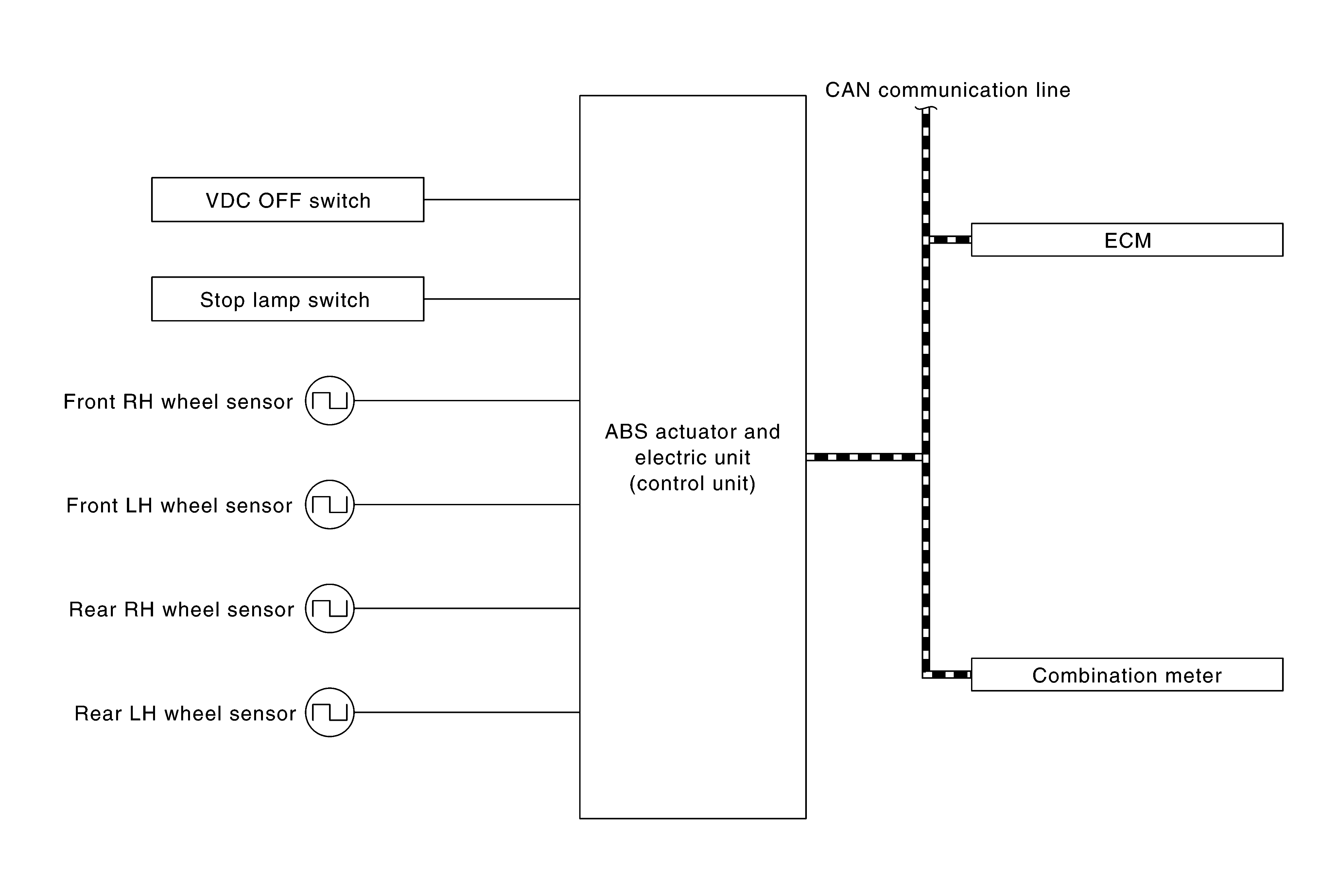
Home >> Infiniti >> 2017 >> Q60 Base, AWD >> Repair and Diagnosis (Single Page) >> Brakes >> Brakes Control Systems >> Brake Control System (With VDC) (Introduction, Wiring Diagrams And Basic Inspection) >> System Description >> System >> Hill Start Assist Function >> System Description >> System Diagram (For 2.0L Turbo Gasoline Engine Models)
April 5, 2026: LEMON Manuals is launched! Read the announcement.

System Diagram (For 2.0L Turbo Gasoline Engine Models)

GNSJSFIA2068GB-068Courtesy of NISSAN NORTH AMERICA, INC.