LEMON Manuals: Even more car manuals for everyone: 1960-2025
Home >> Infiniti >> 2017 >> QX80 Base, AWD >> Repair and Diagnosis (Single Page) >> Steering >> Steering Column >> Steering System >> System Description >> System >> System Description (Heated Steering Wheel) >> System Diagram
April 5, 2026: LEMON Manuals is launched! Read the announcement.

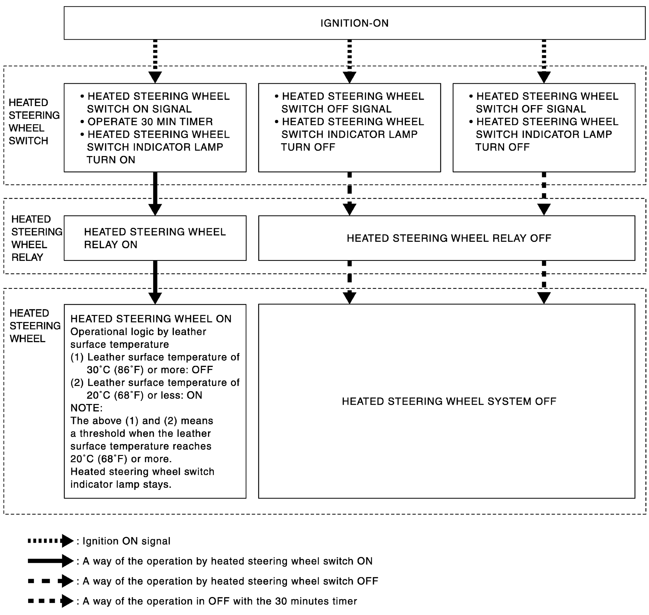
System Diagram

G07025246Courtesy of NISSAN NORTH AMERICA, INC.