LEMON Manuals: Even more car manuals for everyone: 1960-2025
Home >> Infiniti >> 2021 >> Q60 Pure, AWD >> Repair and Diagnosis (Single Page) >> Transmission >> Transfer Case >> Transfer Case (Service Information) >> Disassembly And Assembly >> Front Final Drive >> Front Final Drive Differential Assembly >> FRONT FINAL DRIVE DIFFERENTIAL ASSEMBLY : Adjustment >> AWD models
April 5, 2026: LEMON Manuals is launched! Read the announcement.

AWD models

TOTAL PRELOAD TORQUE 

  1. Rotate drive pinion back and forth 2 to 3 times to check for unusual noise and rotation malfunction.
  2. Rotate drive pinion at least 20 times to check for smooth operation of the bearing.
  3. Measure total preload with preload gauge (A) [SST: ST3127S000 (J-25765-A)].
    G04076206Courtesy of NISSAN NORTH AMERICA, INC.

    Total preload torque

    : Refer to FRONT FINAL DRIVE : Service Data .

    NOTE: Total preload torque = Pinion bearing preload torque + Side bearing preload torque
    • If measured value is out of the specification, disassemble it to check and adjust each part. Adjust the pinion bearing preload and side bearing preload.

      Adjust the pinion bearing preload first, then adjust the side bearing preload.

    When the preload torque is large

    On pinion bearings:

    Decrease the drive pinion bearing adjusting washer and drive pinion adjusting washer thickness. For selecting adjusting washer, refer to the latest parts information.

    On side bearings:

    Increase the side bearing adjusting shim thickness. For selecting adjusting washer, refer to the latest parts information.

    When the preload torque is small

    On pinion bearings:

    Increase the drive pinion bearing adjusting washer and drive pinion adjusting washer thickness. For selecting adjusting washer, refer to the latest parts information.

    On side bearings:

    Decrease the side bearing adjusting shim thickness. For selecting adjusting washer, refer to the latest parts information.

SIDE BEARING PRELOAD 

  1. Remove carrier cover and side retainer. Refer to FRONT FINAL DRIVE DIFFERENTIAL ASSEMBLY : Disassembly & Assembly .
  2. Make sure all parts are clean. Also, make sure the bearings are well lubricated with gear oil.
  3. Place the differential case assembly into gear carrier.
    G04076241Courtesy of NISSAN NORTH AMERICA, INC.
  4. Install side bearing adjusting shim before disassembling or shim which thickness is the same as the one before disassembling.
    G04076261Courtesy of NISSAN NORTH AMERICA, INC.
  5. Install side retainer assembly to gear carrier.
    CAUTION: Never install O-ring.
  6. Install side retainer mounting bolts to the specified torque.
    G04076262Courtesy of NISSAN NORTH AMERICA, INC.
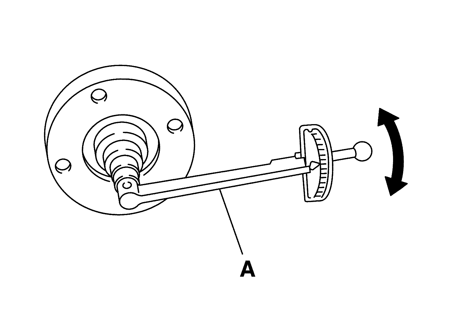
  7. Measure the turning torque of the gear carrier at the drive gear mounting bolts with a spring gauge (commercial service tool).
    G04076263Courtesy of NISSAN NORTH AMERICA, INC.

    Specification

    : 34.2 - 39.2 N (3.5 - 4.0 kg, 7.7 - 8.8 lb) of pulling force at the drive gear bolt

  8. If the turning torque is outside the specification, use a thicker/thinner side bearing adjusting shim to adjust. For selecting adjusting shim, refer to the latest parts information.
    G04076264Courtesy of NISSAN NORTH AMERICA, INC.

    If the turning torque is less than the specified range:

    Decrease the side bearing adjusting shim thickness.

    If the turning torque is greater than the specification:

    Increase the side bearing adjusting shim thickness.

  9. Record the total amount of shim thickness required for the correct carrier side bearing preload.

DRIVE GEAR RUNOUT 

  1. Remove carrier cover. Refer to FRONT FINAL DRIVE DIFFERENTIAL ASSEMBLY : Disassembly & Assembly .
  2. Fit a dial indicator to the drive gear back face.
    G04076207Courtesy of NISSAN NORTH AMERICA, INC.
  3. Rotate the drive gear to measure runout.

    Drive gear runout

    : Refer to FRONT FINAL DRIVE : Service Data .

    • If the runout is outside of the repair limit, check drive gear assembly condition; foreign material may be caught between drive gear and differential case, or differential case or drive gear may be deformed, etc.
      CAUTION: Replace drive gear and drive pinion gear as a set.

TOOTH CONTACT 

  1. Remove carrier cover. Refer to FRONT FINAL DRIVE DIFFERENTIAL ASSEMBLY : Disassembly & Assembly .
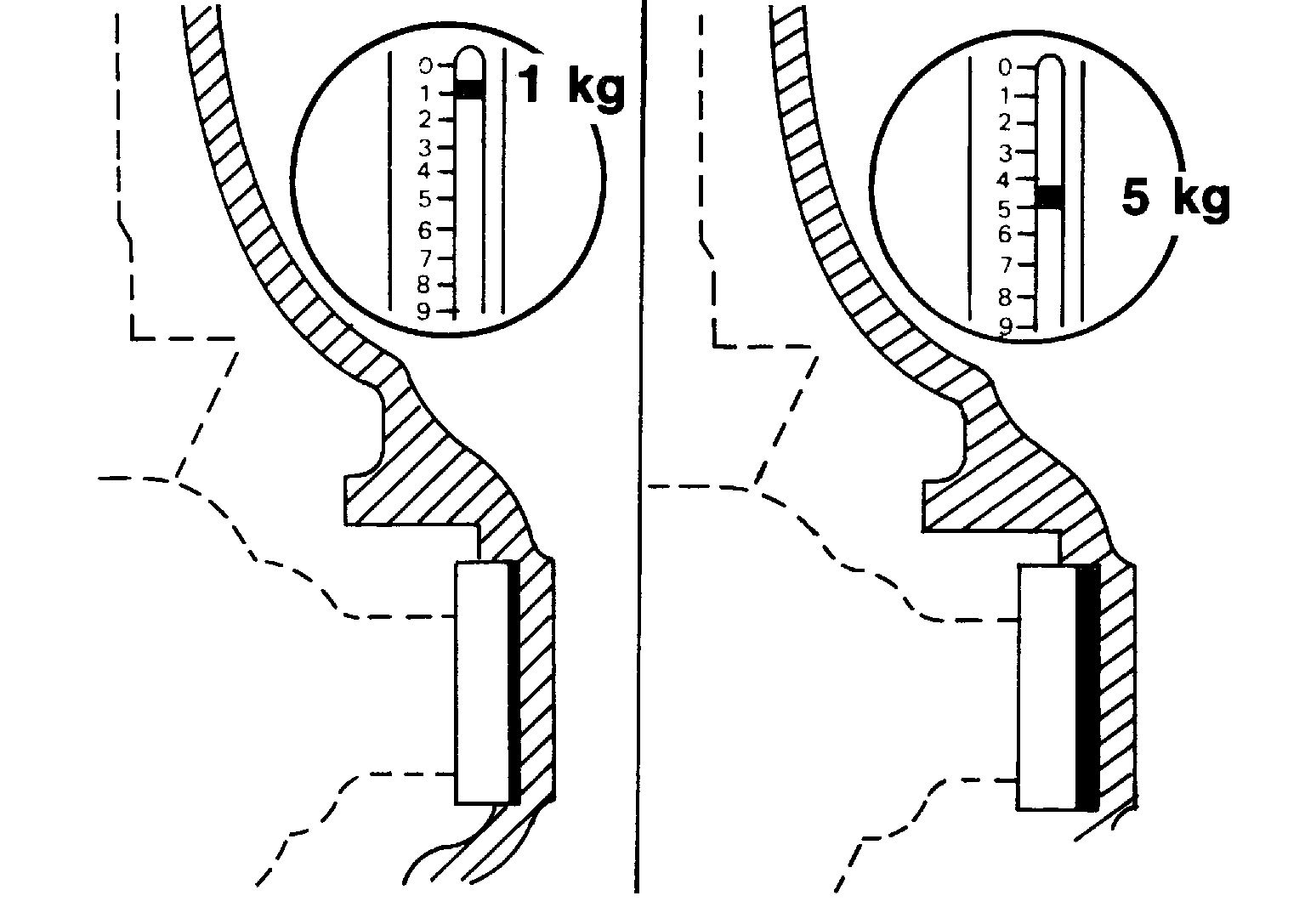
  2. Apply red lead or equivalent to drive gear.
    G04076208Courtesy of NISSAN NORTH AMERICA, INC.
    CAUTION: Apply red lead or equivalent to both the faces of 3 to 4 gears at 4 locations evenly spaced on drive gear.
  3. Rotate drive gear back and forth several times, check drive pinion gear to drive gear tooth contact.
    G04076209Courtesy of NISSAN NORTH AMERICA, INC.
    CAUTION: Check tooth contact on drive side and reverse side.
    G05225486Courtesy of NISSAN NORTH AMERICA, INC.
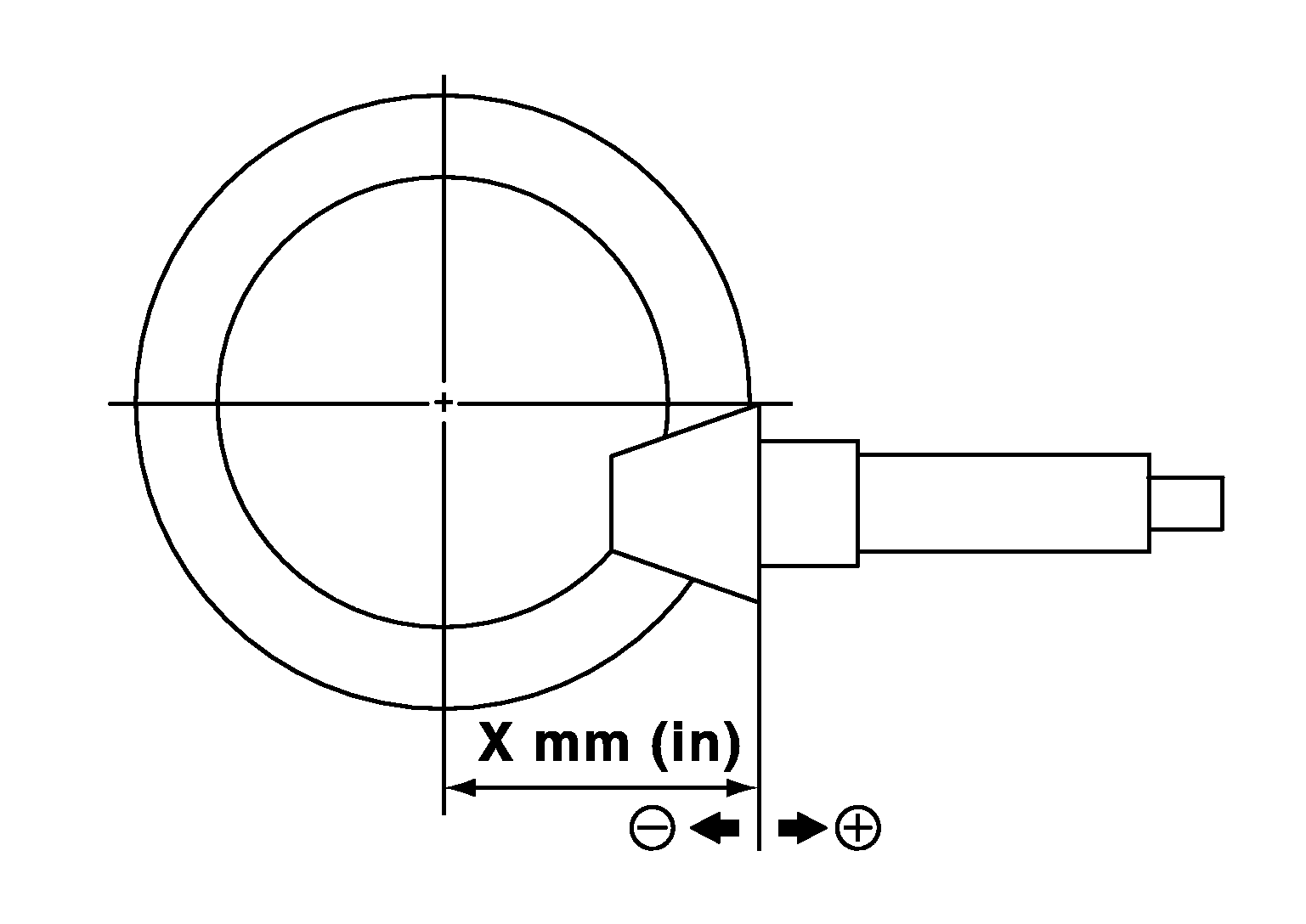
  4. If tooth contact is improperly adjusted, follow the procedure below to adjust the pinion height [dimension (X)].
    G04076232Courtesy of NISSAN NORTH AMERICA, INC.
    • If the tooth contact is near the face (face contact), or near the heel (heel contact), thicken pinion height adjusting washers to move drive pinion closer to drive gear.
      G04076233Courtesy of NISSAN NORTH AMERICA, INC.

      For selecting adjusting washer, refer to the latest parts information.

    • If the tooth contact is near the flank (flank contact), or near the toe (toe contact), thin pinion height adjusting washers to move drive pinion farther from drive gear.
      G04076234Courtesy of NISSAN NORTH AMERICA, INC.

      For selecting adjusting washer, refer to the latest parts information.

BACKLASH 

  1. Remove carrier cover. Refer to FRONT FINAL DRIVE DIFFERENTIAL ASSEMBLY : Disassembly & Assembly .
  2. Fit a dial indicator to the drive gear face to measure the backlash.
    GNSSDIA09J-009Courtesy of NISSAN NORTH AMERICA, INC.

    Backlash

    : Refer to FRONT FINAL DRIVE : Service Data .

    • If the backlash is outside of the specified value, change the thickness of side bearing adjusting washer.

      When the backlash is large:

      Decrease side bearing adjusting washer thickness. For selecting adjusting washer, refer to the latest parts information.

      When the backlash is small:

      Increase side bearing adjusting washer thickness. For selecting adjusting washer, refer to the latest parts information.