LEMON Manuals: Even more car manuals for everyone: 1960-2025
Home >> Infiniti >> 2022 >> QX80 Premium Select, AWD >> Repair and Diagnosis >> Engine Performance >> Engine Control Systems >> Engine Control System (Diagnostics) (1 Of 2) >> Component/Circuit Diagnosis >> VVEL Actuator Motor Relay >> Component Inspection
April 5, 2026: LEMON Manuals is launched! Read the announcement.

Component Inspection

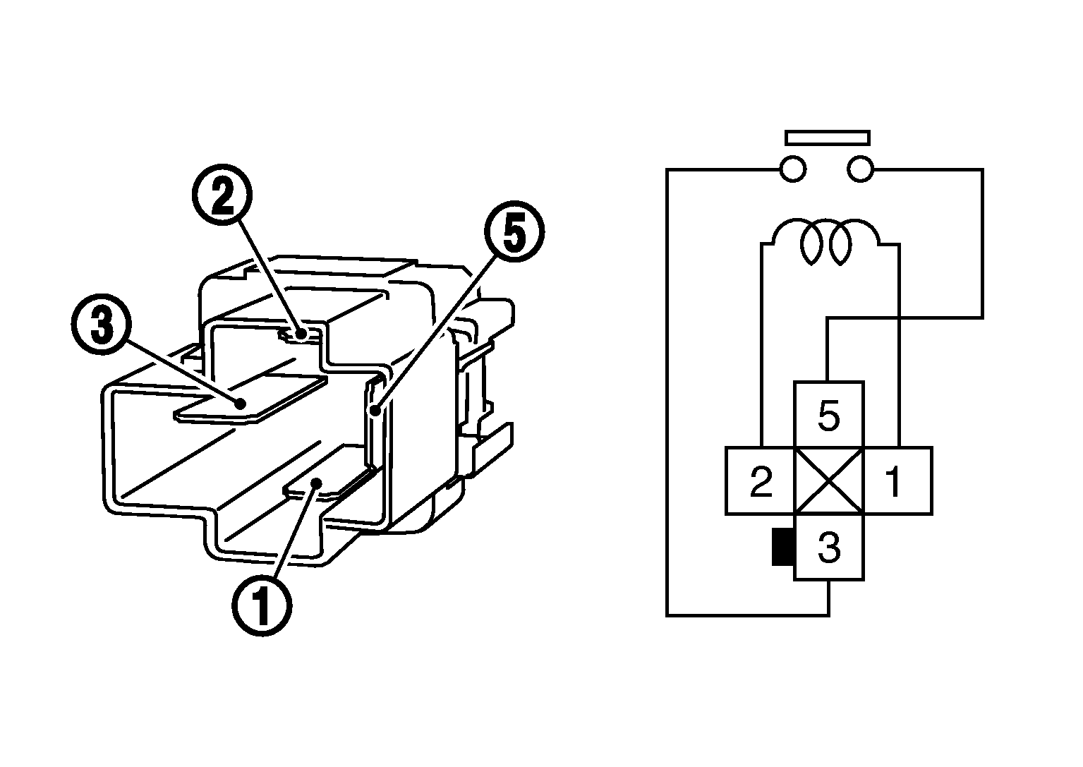
  1. CHECK VVEL ACTUATOR MOTOR RELAY 
    1. Turn ignition switch OFF.
    2. Remove VVEL actuator motor relay.
    3. Check the continuity between VVEL actuator motor relay terminals under the following conditions.
      GNSJMBIA0876Z-876Courtesy of NISSAN NORTH AMERICA, INC.

      Terminal

      Condition

      Continuity

      3 and 5

      12 V direct current supply between terminals 1 and 2

      Existed

      No current supply

      Not existed

    Is the inspection result normal?

    YES

    INSPECTION END

    NO

    Replace VVEL actuator motor relay.