System Description
- This function maintains brake fluid pressure so that the vehicle does not move backwards even if brake pedal is released to depress accelerator pedal to start the vehicle while it is stopped on an uphill slope by depressing brake pedal.
- This function operates when the vehicle is in stop status on a uphill slope of slope ratio 5% or more and selector lever is in the position other than P or N.
- hill start assist function is only for the start aid. It maintains the brake fluid pressure for approx. 2 seconds after releasing the brake pedal, and then decreases the pressure gradually. If the vehicle can start by the accelerator operation, the brake is released automatically and a smooth start can be performed.
- Fail-safe function is adopted. When a malfunction occurs in hill start assist function, the control is suspended for VDC function, TCS function, Brake assist function, hill start assist function and Brake force distribution function. The vehicle status becomes the same as models without VDC function, TCS function, Brake assist function, hill start assist function and Brake force distribution function. However, ABS function and EBD function are operated normally. Refer to Fail-Safe .
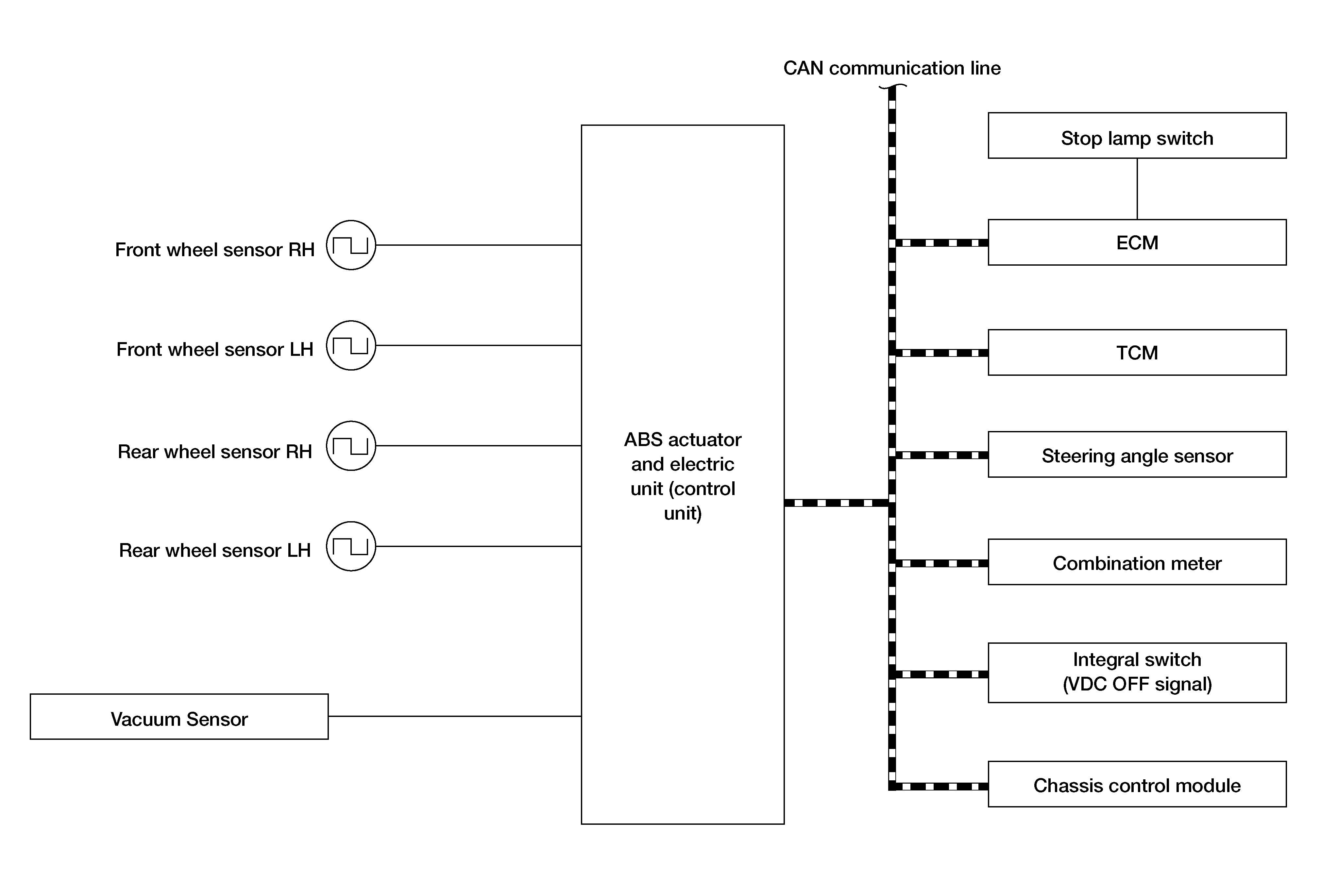
SYSTEM DIAGRAM
INPUT SIGNAL AND OUTPUT SIGNAL
Major signal transmission between each unit via communication lines is shown in the following table.
| Component | Signal description |
|---|---|
| ECM | Mainly transmits the following signals to ABS actuator and electric unit (control unit) via CAN communication.
Mainly receives the following signals from ABS actuator and electric unit (control unit) via CAN communication.
|
| Combination meter | Mainly receives the following signals from ABS actuator and electric unit (control unit) via CAN communication.
Mainly receives the following signals from ABS actuator and electric unit (control unit) via CAN communication.
|
| BCM | Transmits the following signals to the ABS via CAN.
|