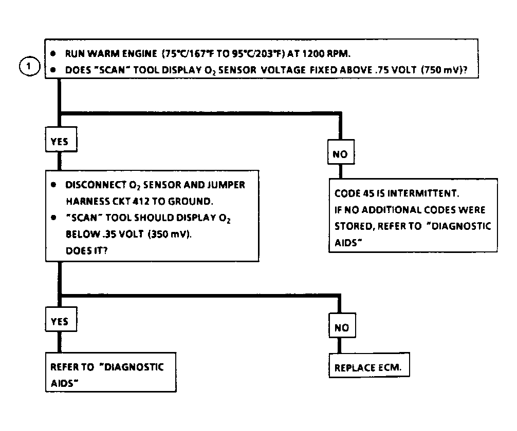
Diagnostic Aids
Using scan tester, observe block learn values at different engine speeds.
If a Code 45 exists, block learn values will be approximately 115.
- Fuel system will go rich if pressure is too high. The ECM can compensate for some increase. If pressure is excessive, a Code 45 maybe set.
- Check for fuel contaminated oil.
- If an open occurs on circuit No. B3, HEI induced electrical noise may result, causing simulated reference pulses to be picked up by ECM on reference line of the 4-wire EST harness. Additional pulses result in a higher than actual engine speed signal. The ECM will increase injector pulse width to match fuel requirements of increased RPM signal. Tachometer will show higher than actual RPM, which can help in diagnosing this problem.
- Check charcoal canister for fuel saturation. If full of fuel, check canister control and hoses.
- An output causing ECM to sense a lower than normal vacuum can cause system to go rich. Disconnecting MAP sensor allows ECM to set a fixed value for the sensor. Substitute a different MAP sensor if rich condition is gone while sensor is disconnected.
- An intermittent TPS output causes system to go rich due to a false acceleration indication.
- For intermittent inspection, see INTERMITTENTS under TESTS W/O CODES article in the ENGINE PERFORMANCE Section.