LEMON Manuals: Even more car manuals for everyone: 1960-2025
Home >> Isuzu >> 1992 >> Rodeo LS, 4WD, Automatic >> Repair and Diagnosis >> Engine Performance >> System >> Engine Controls - Tests W/Codes - 3.1L >> Code Charts >> Code 13 - O2 Sensor (Open Circuit) >> Diagnostic Aids
April 5, 2026: LEMON Manuals is launched! Read the announcement.

Diagnostic Aids

Normal scan tester voltage varies between .1-1.0 volt while in closed loop. Code 13 sets in approximately one minute if voltage remains between .35 and .55 volt, but system will enter open loop in approximately 15 seconds. For intermittent inspection, see INTERMITTENTS under TESTS W/O CODES article in the ENGINE PERFORMANCE Section.

Fig 1: Code 13 Schematic - O2 Sensor (Open Circuit)
G91G17281Courtesy of ISUZU MOTOR CO.
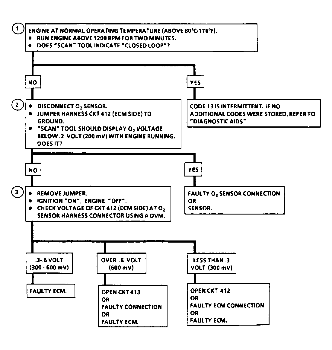
Fig 2: Code 13 Flow Chart - O2 Sensor (Open Circuit)
G91H17282Courtesy of ISUZU MOTOR CO.