LEMON Manuals: Even more car manuals for everyone: 1960-2025
Home >> Isuzu >> 1996 >> Rodeo LS, 2.6 E >> Repair and Diagnosis >> Engine Performance >> System >> Engine Controls - Tests W/Codes - 2.6L 4-CYL >> Circuit Testing >> DTC P1391 - G-Sensor Circuit Performance >> Notes
April 5, 2026: LEMON Manuals is launched! Read the announcement.

DTC P1391 - G-Sensor Circuit Performance: Notes

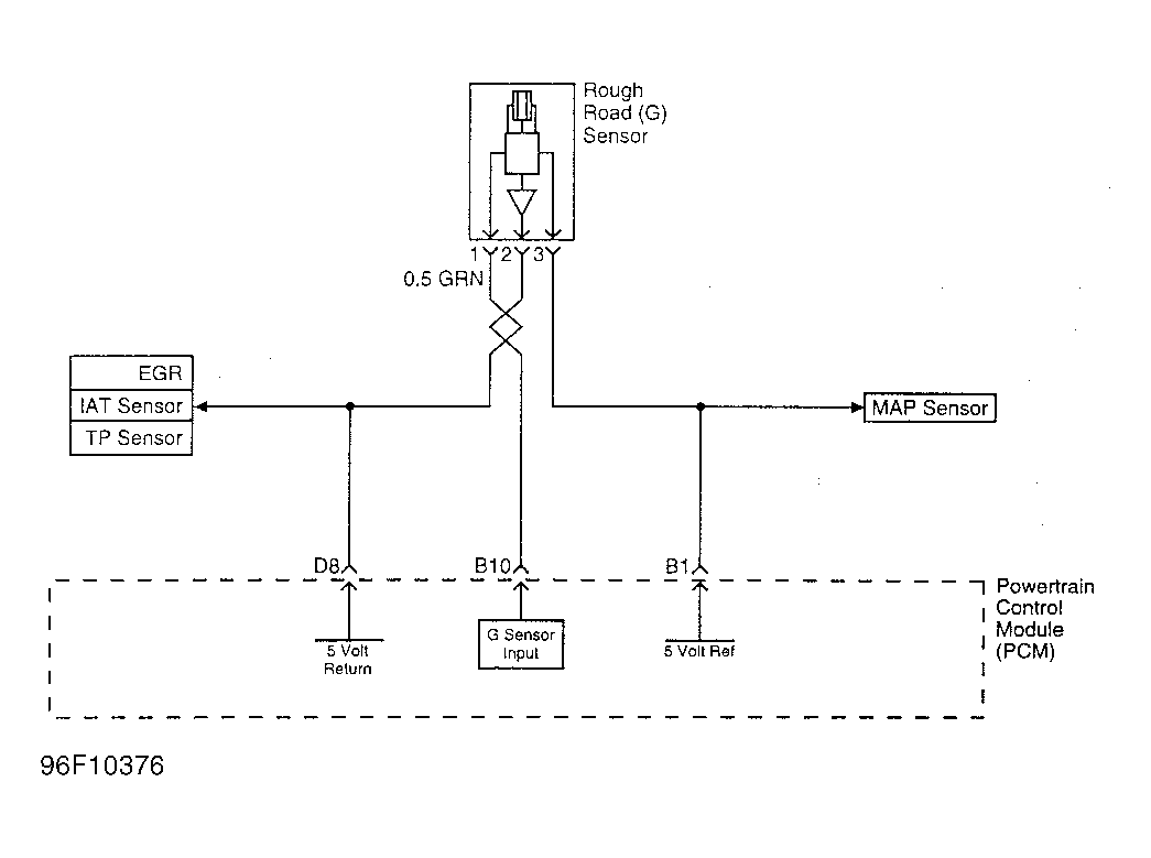
NOTE: For circuit reference, see Figure , Code P1390 schematic.