LEMON Manuals: Even more car manuals for everyone: 1960-2025
Home >> Isuzu >> 1997 >> Rodeo LS, 2.6 E >> Repair and Diagnosis >> Engine Performance >> System >> Engine Controls - Tests W/Codes - 2.6L >> Circuit Testing >> DTC P0121 - TP Sensor System Performance >> Notes
April 5, 2026: LEMON Manuals is launched! Read the announcement.

DTC P0121 - TP Sensor System Performance: Notes

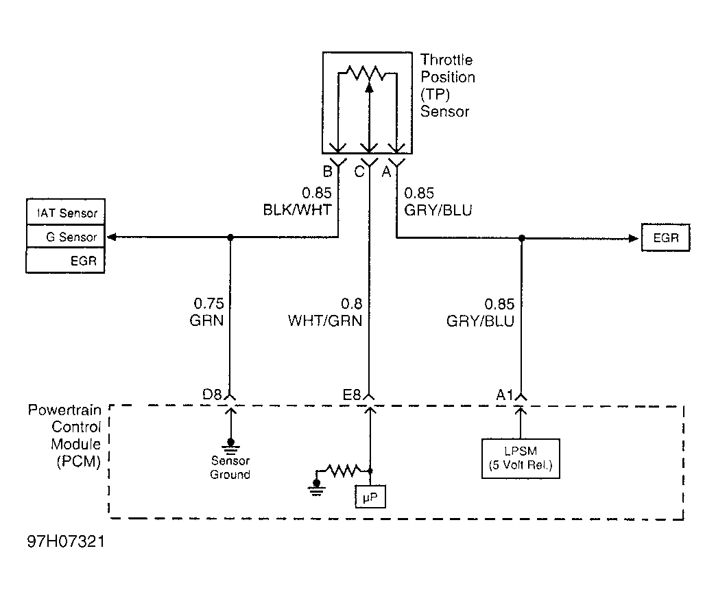
Fig 1: TP Sensor Circuit
G97H07321Courtesy of ISUZU MOTOR CO.