LEMON Manuals: Even more car manuals for everyone: 1960-2025
Home >> Isuzu >> 1997 >> Rodeo LS, 2.6 E >> Repair and Diagnosis >> Engine Performance >> System >> Engine Controls - Tests W/Codes - 2.6L >> Circuit Testing >> DTC P0336 - CKP Sensor Circuit 58X Reference Signal >> Notes
April 5, 2026: LEMON Manuals is launched! Read the announcement.

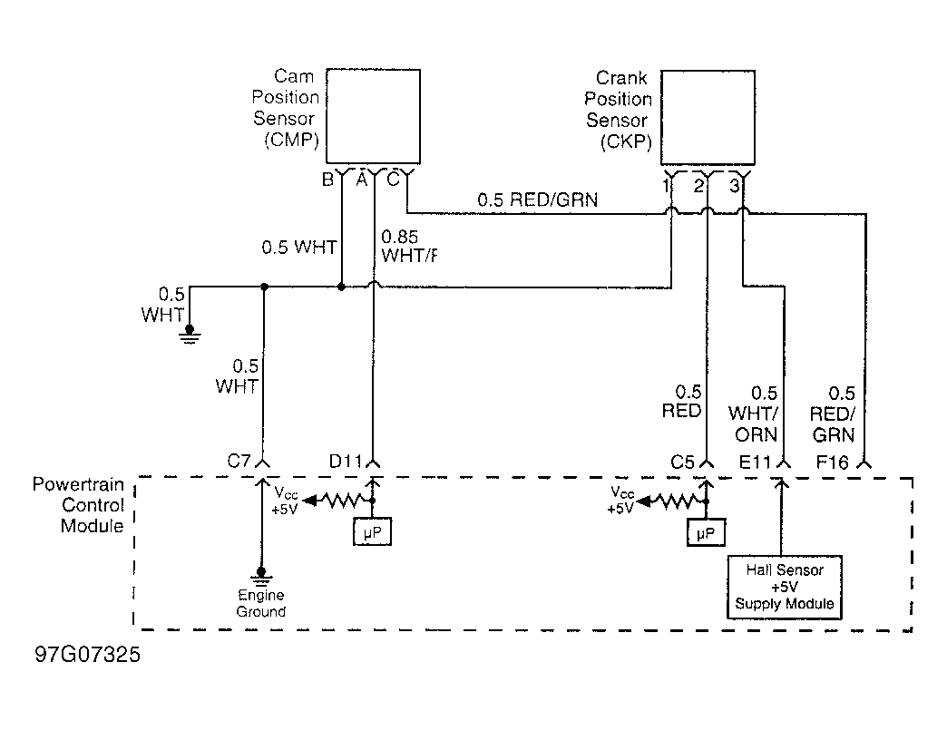
DTC P0336 - CKP Sensor Circuit 58X Reference Signal: Notes

Fig 1: CKP Sensor Circuit
G97G07325Courtesy of ISUZU MOTOR CO.