LEMON Manuals: Even more car manuals for everyone: 1960-2025
Home >> Isuzu >> 1999 >> Trooper V6-3.5L >> Repair and Diagnosis >> Body and Frame >> Locks >> Keyless Entry >> Keyless Entry Module >> Service and Repair >> Removal and Installation
April 5, 2026: LEMON Manuals is launched! Read the announcement.

Removal and Installation

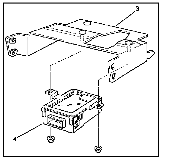
Anti-theft and Keyless Entry Control Unit Removal
1. Disconnect the battery ground cable.
2. Remove the front console assembly.
3. Remove the lower cluster assembly.
4. Disconnect the connector(2).
5. Remove four screws to remove the anti-theft and keyless entry control unit with bracket(1).





6. Remove two nuts from the anti-theft and keyless entry control unit with bracket(3) to remove the anti-theft and keyless entry control unit(4).





Anti-theft and Keyless Entry Control Unit Installation
To install, follow the removal steps in the reverse order.