LEMON Manuals: Even more car manuals for everyone: 1960-2025
Home >> Isuzu >> 2000 >> Rodeo LS 2WD V6-3.2L >> Repair and Diagnosis >> Maintenance >> Alignment >> Description and Operation
April 5, 2026: LEMON Manuals is launched! Read the announcement.

Alignment: Description and Operation

GENERAL DESCRIPTION
"Front End Alignment" refers to the angular relationship between the front wheels, the front suspension attaching parts and the ground. Proper front end alignment must be maintained in order to insure efficient steering, good directional stability and to prevent abnormal tire wear. The most important factors of front end alignment are wheel toe-in, wheel camber and axle caster.





CAMBER:
Camber is the vertical tilting inward or outward of the front wheels. When the wheels tilt outward at the top, the camber is positive (+). When the wheels tilt inward at the top, the camber is negative (-). The amount of tilt measured in degrees from the vertical is called the camber angle (1). If camber is extreme or unequal between the wheels, improper steering and excessive tire wear will result. Negative camber causes wear on the inside of the tire, while positive camber causes wear to the outside.





CASTER:
This illustration shows view from the side of the vehicle. Caster (1) is the vertical tilting of the wheel axis either forward or backward (when viewed from the side of the vehicle). A backward tilt is positive (+) and a forward tilt is negative (-). On the short and long arm type suspension you cannot see a caster angle without a special instrument, but if you look straight down from the top of the upper control arm to the ground, the ball joints do not line up (fore and aft) when a caster angle other than 0 degree is present. With a positive angle, the lower ball joint would be slightly ahead (toward the front of the vehicle) of the upper ball joint center line.





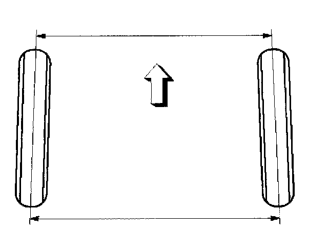
TOE-IN:
This illustration shows view from the top of the vehicle. Toe-in is the measured amount the front wheels are turn in. The actual amount of toe-in is normally a fraction of a degree. Toe-in is measured from the center of the tire treads or from the inside of the tires. The purpose of toe-in is to insure parallel rolling of the front wheels and to offset any small deflections of the wheel support system which occurs when the vehicle is rolling forward. Incorrect toe-in results in excessive toe-in and unstable steering. Toe-in is the last alignment to be set in the front end alignment procedure.