LEMON Manuals: Even more car manuals for everyone: 1960-2025
Home >> Isuzu >> 2000 >> Rodeo LS 2WD V6-3.2L >> Repair and Diagnosis >> Power and Ground Distribution >> Fuse >> Locations
April 5, 2026: LEMON Manuals is launched! Read the announcement.

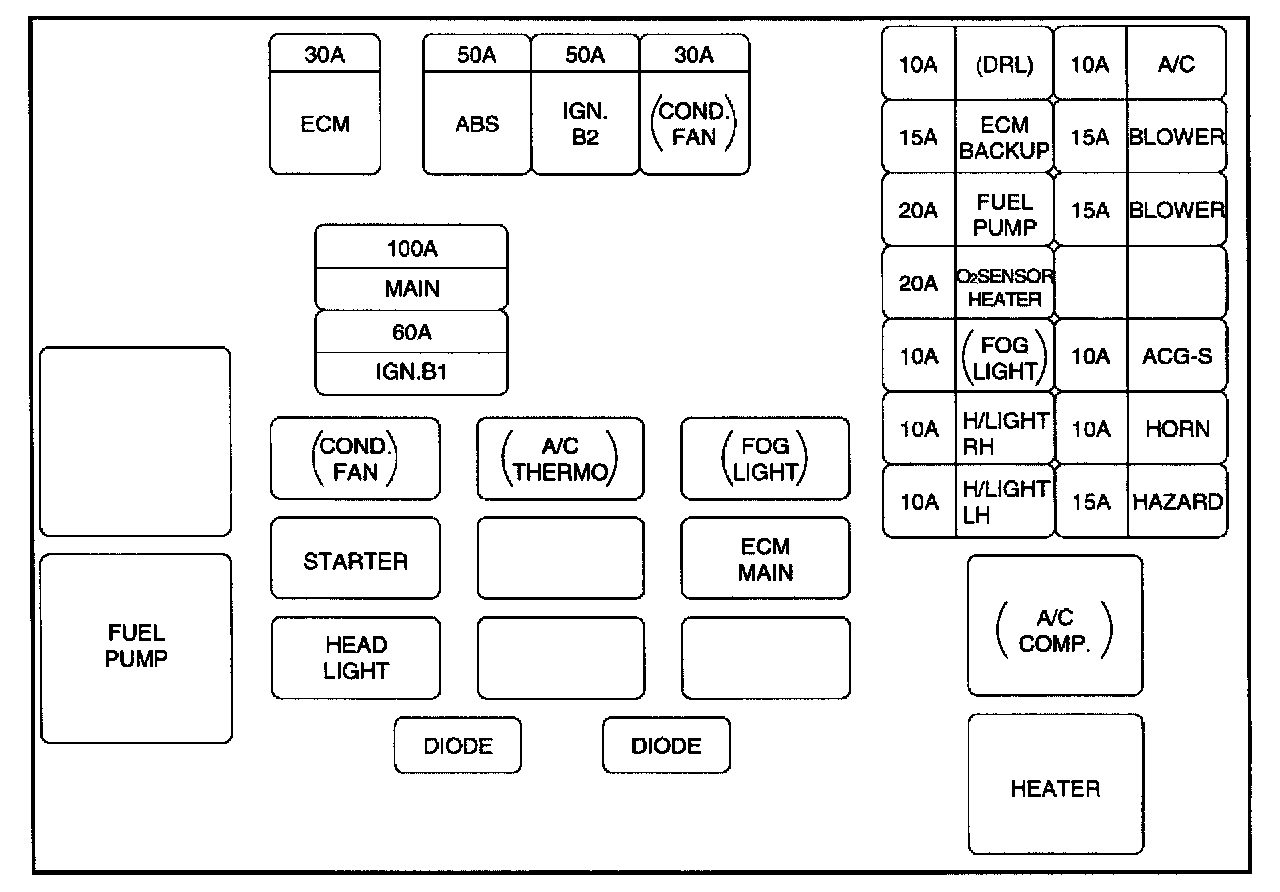
Fuse: Locations

Fuse and Relay Panel (Underhood Electrical Center):