LEMON Manuals: Even more car manuals for everyone: 1960-2025
Home >> Isuzu >> 2000 >> Trooper LS, RWD >> Repair and Diagnosis >> Body & Frame >> Windows >> Body Structure >> Windshield >> Installation
April 5, 2026: LEMON Manuals is launched! Read the announcement.

Body Structure: Windshield: Installation

  1. Install the spacer (1).
    • Clean the bonding surfaces of both the windshield and the body panel.
    • When installing the spacers, align the lower side spacer to the R stop of the body panel and the side spacer to the end of the body panel. Be sure to always use a new spacer.
      Fig 1: Installing Spacer
      G02801206Courtesy of ISUZU MOTOR CO.
    • Be absolutely sure to apply glass primer and body primer to the body panel as shown in the illustration.
    Fig 2: Identifying Locations For Applying Glass Primer And Body Primer
    G02801207Courtesy of ISUZU MOTOR CO.
  2. Install the moulding clip (2).
    • Install new moulding clips to the fixed position of the windshield (3).
    • Always use new moulding clips (4).
    Fig 3: Installing Moulding Clips
    G02801208Courtesy of ISUZU MOTOR CO.
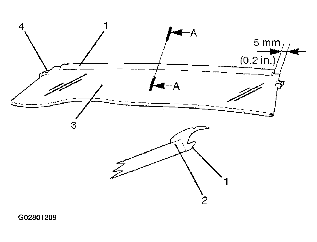
  3. Install the windshield upper moulding (1).
    • Peel off the adhesive tape (2) and install the moulding to the fixed position of the windshield (3).
    • Always use new upper moulding (1).
    Fig 4: Installing Windshield Upper Moulding
    G02801209Courtesy of ISUZU MOTOR CO.
  4. Install the windshield.
    Fig 5: Installing Windshield
    G02801210Courtesy of ISUZU MOTOR CO.
  5. Install the windshield side seal.
  6. Install the windshield support (2).
    Fig 6: Installing Windshield Support
    G02801211Courtesy of ISUZU MOTOR CO.
    • Apply a sealing adhesive (4) to the circumference of the windshield (5).
    • Apply the sealing adhesive to the fringe portion of the cowl upper rail.
    • Adjust the gap clearance of the windshield (5).
    • Install the windshield to the body panel by applying pressure to the windshield.
    • Cure the adhesive at a temperature of 20-30 °C (68-86 °F) for 24 hours.
    • Check that the windshield does not leak water.
    Fig 7: Checking That Windshield Does Not Leak Water
    G02801212Courtesy of ISUZU MOTOR CO.
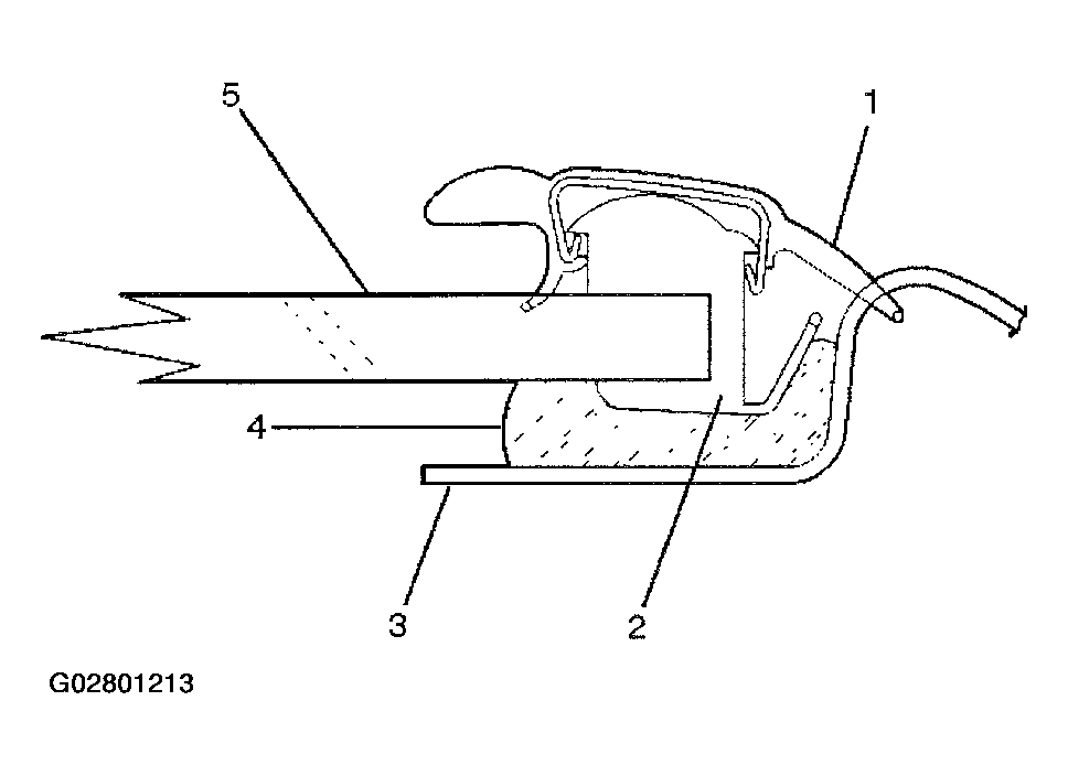
  7. Install the windshield side moulding.
    • Insert the windshield (5) side moulding (1) into the moulding clip (2).
      Fig 8: Installing Windshield Side Moulding
      G02801213Courtesy of ISUZU MOTOR CO.
    • Take care not to damage the side moulding when you install it.
  8. Install the front cowl cover.
  9. Install the windshield wiper.