LEMON Manuals: Even more car manuals for everyone: 1960-2025
Home >> Isuzu >> 2001 >> Rodeo S, 2.2 D, Standard >> Repair and Diagnosis >> Engine Performance >> System >> Engine Controls - Self-Diagnostics - 2.2L >> Diagnostic Tests >> DTC P0502: Vehicle Speed Sensor Circuit Low Input >> Diagnostic Procedures
April 5, 2026: LEMON Manuals is launched! Read the announcement.

Diagnostic Procedures

  1. Perform OBD-II system check. See ON-BOARD DIAGNOSTIC II (OBD-II) SYSTEM CHECK  . After performing OBD-II system check, go to next step.
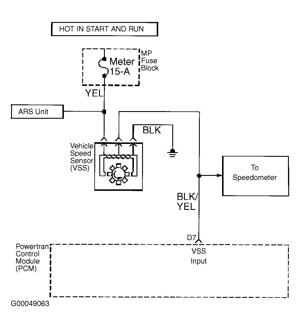
  2. Turn ignition off. Disconnect VSS harness connector. Connect a test light to positive battery terminal. Probe VSS connector ground terminal (Black wire). See Fig 1 . If test light illuminates, go to next step. If test light does not illuminate, repair open in ground circuit as necessary. Retest system.
  3. With sensor disconnected, turn ignition on. Using DVOM connected to ground, probe VSS harness connector Yellow wire. See Fig 1 . If battery voltage is present, go to next step. If battery voltage is not present, repair open or short circuit in Yellow wire between METER (15-amp) fuse and VSS. Retest system.
  4. Turn ignition off. Disconnect PCM harness connectors. Using a DVOM, check continuity of Black/Yellow wire between PCM harness connector terminal D7 and VSS harness connector. See Figure and Fig 1 . If continuity exists, go to next step. If continuity does not exist, repair Black/Yellow wire as necessary.
  5. Measure resistance between VSS sensor body and transmission case. If resistance is greater than 10 k/ohms, repair or replace VSS as necessary. If resistance is less than 10 k/ohms, replace and reprogram PCM using required equipment. See PROGRAMMING  . Retest system.
Fig 1: Identifying Vehicle Speed Sensor (VSS) Circuit
G00049063Courtesy of ISUZU MOTOR CO.