LEMON Manuals: Even more car manuals for everyone: 1960-2025
Home >> Isuzu >> 2002 >> Axiom Base, 4WD >> Repair and Diagnosis (Single Page) >> Transmission >> Transmission Control Systems >> Driveline Control System (Shift On The Fly) >> Shift On The Fly System >> Outline Of Shift On The Fly System >> Normal Operation >> Time Chart Of Shifting Under Normal Condition
April 5, 2026: LEMON Manuals is launched! Read the announcement.

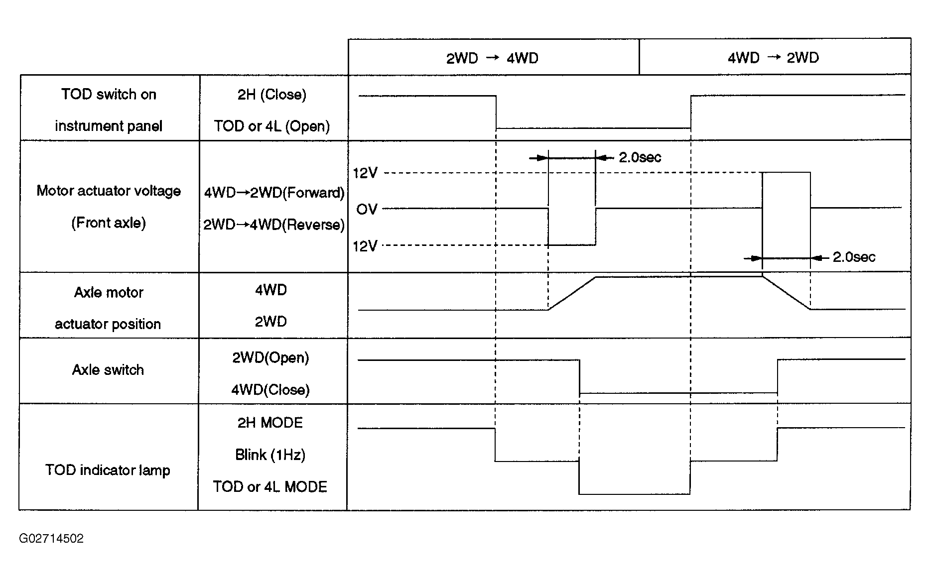
Time Chart Of Shifting Under Normal Condition

Fig 1: TOD Switch Shifting Timing Chart (Under Normal Condition)
G02714502Courtesy of ISUZU MOTOR CO.

4WD out signal to other Electronic Brake Control Module:  TOD Control Unit of shift on the fly sends 4WD out signal to other Electronic Brake Control Module as below.

4WD OUT SIGNAL FOR OTHER ELECTRONIC BRAKE CONTROL MODULE

4WD Out Signal (Period) Vehicle Condition Transfer Position Switch Front Axle Switch
120 ms 2WD 2WD (Open) 2WD (Open)
240 ms 4WD 4WD (Close) 4WD (Close)