LEMON Manuals: Even more car manuals for everyone: 1960-2025
Home >> Isuzu >> 2002 >> Axiom Base, 4WD >> Repair and Diagnosis >> Transmission >> Transmission Control Systems >> Driveline Control System (Shift On The Fly) >> Shift On The Fly System >> Outline Of Shift On The Fly System >> System Diagrams
April 5, 2026: LEMON Manuals is launched! Read the announcement.

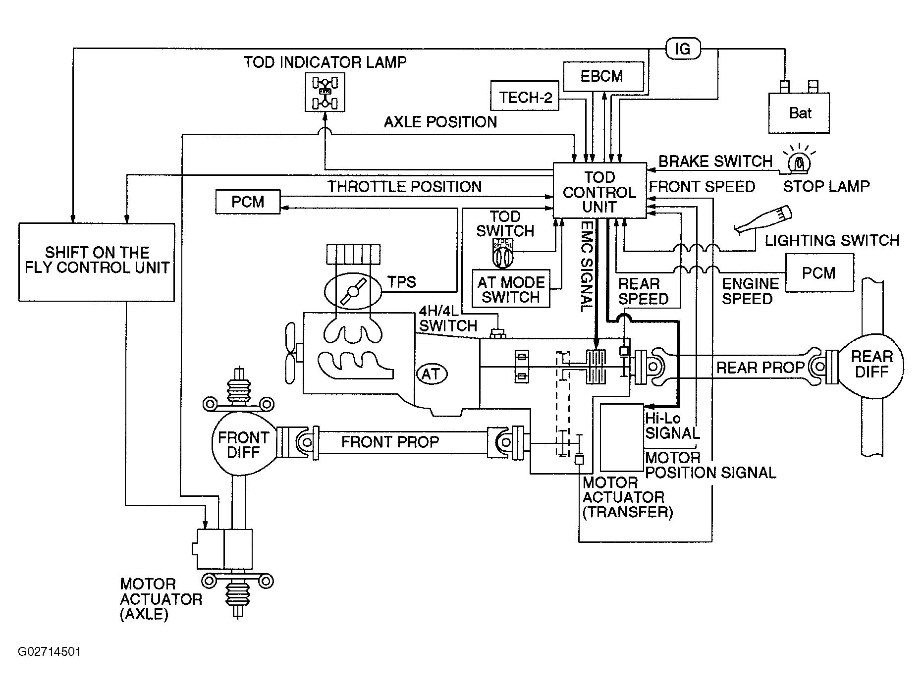
System Diagrams

Fig 1: System Diagram - TOD Control Unit Of Shift On Fly System
G02714501Courtesy of ISUZU MOTOR CO.