LEMON Manuals: Even more car manuals for everyone: 1960-2025
Home >> Isuzu >> 2003 >> Rodeo 2WD L4-2.2L >> Repair and Diagnosis >> Maintenance >> Alignment >> Testing and Inspection
April 5, 2026: LEMON Manuals is launched! Read the announcement.

Alignment: Testing and Inspection

Inspection
Before making any adjustments affecting caster, camber or toe-in, the following front end inspection should be made.
1. Inspect the tires for proper inflation pressure.
2. Make sure that the vehicle is unladen condition (With no passenger or loading).
3. Make sure that the spare tire is installed at the normal position.
4. Inspect the front wheel bearings for proper adjustment.
5. Inspect the ball joints and tie rod ends. If excessive looseness is noted, correct before adjusting.
6. Inspect the wheel and tires for run-out.
7. Inspect the trim height. If not within specifications, the correction must be made before adjusting caster.
8. Inspect the steering unit for looseness at the frame.
9. Inspect shock absorbers for leaks or any noticeable noise.
10. Inspect the control arms or stabilizer bar attachment for looseness.
11. Inspect the front end alignment using alignment equipment. Follow the manufacturer's instructions.
12. Park the vehicle on a level surface.

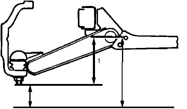
Trim Height Adjustment








Adjust the trim height (1) by means of the adjusting bolt on the height control arms.

Caution: When adjusting front end alignment, be sure to begin with trim height first, as it may change other adjusted alignments.

1. Check and adjust the tire inflation pressures.
2. Park the vehicle on a level ground and move the front of the vehicle up and down several times to settle the suspension.
3. Make necessary adjustment with the adjusting bolt on the height control arms.
Trim height: 119 ± 5 mm (4.69 ± 0.2 inch)

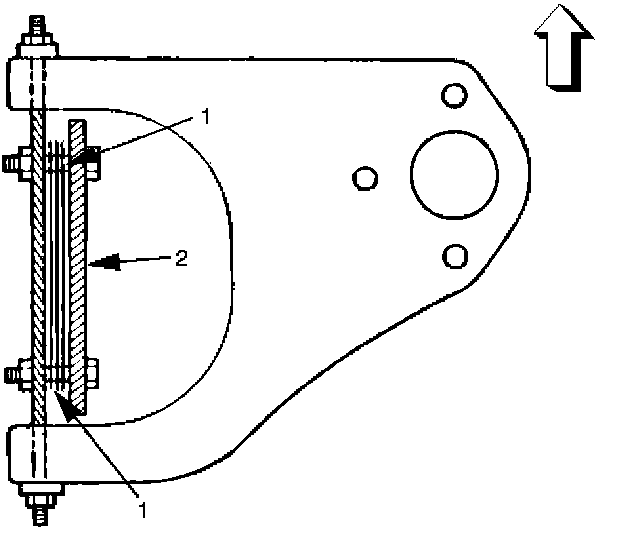
Caster Adjustment








The caster angle can be adjusted by means of the caster shims (1) installed between the chassis frame (2) and fulcrum pins.
Caster angle: 2°30' ± 1°

Caution: Left and right side must be equal within 30'.

Note: Difference of the caster shim front/rear thickness should be 3.6 mm (0.142 inch) or less. Overall thickness of caster shim and camber shim should be 10.8 mm (0.425 inch) or less.

Tighten the fulcrum pin bolt to the specified torque.
Torque: 152 Nm 112 (ft. lbs.)

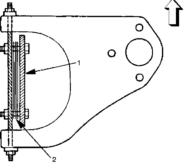
Camber Adjustment





The camber angle can be adjusted by means of the camber shims (2) installed in position between the chassis frame (1) and fulcrum pins
Camber angle: 0° ± 30'
King pin inclination: 12°30' ± 30'

Caution: Left and right side must be equal within 30'.

Note: Overall thickness of caster shim and camber shim should be 10.8 mm (0.425 inch) or less.








Tighten the fulcrum pin bolt to the specified torque.
Torque: 152 Nm (112 ft. lbs.)

Toe-in Adjustment





1. To adjust the toe-in angle, loosen the lock nuts (2) on the tie rod (1) and turn the tie rod. Turn both rods the same amount, to keep the steering wheel centered.
Toe-in: 0 ± 2 mm (0 ± 0.08 inch)
2. Tighten the lock nut to the specified torque.
Torque: 98 Nm (72 ft. lbs.)