LEMON Manuals: Even more car manuals for everyone: 1960-2025
Home >> Isuzu >> 2003 >> Rodeo 2WD L4-2.2L >> Repair and Diagnosis >> Maintenance >> Timing Component Alignment Marks >> Locations
April 5, 2026: LEMON Manuals is launched! Read the announcement.

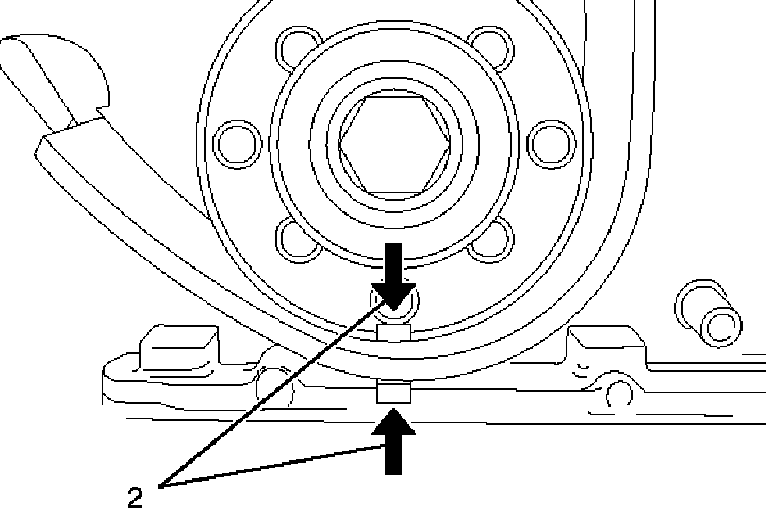
Timing Component Alignment Marks: Locations












CAUTION: Incorrect removal or installation of the timing belt can result in damage to internal engine components.

For complete Timing Belt Removal and Installation information: Service and Repair