LEMON Manuals: Even more car manuals for everyone: 1960-2025
Home >> Isuzu >> 2003 >> Rodeo 2WD L4-2.2L >> Repair and Diagnosis >> Powertrain Management >> Computers and Control Systems >> Engine Control Module >> Service and Repair
April 5, 2026: LEMON Manuals is launched! Read the announcement.

Engine Control Module: Service and Repair

REMOVAL PROCEDURE
1. Disconnect the negative battery cable.
2. Block the wheels.
3. Remove ashtray inner.




4. Remove a screw located behind ashtray.
5. Pull out Face trim of console.




6. Remove two screws located inside of center console storage box and pull up rear part of center console.
7. Unscrew the shift knob.
8. Remove four screw holding front part of the console and pull the console up.




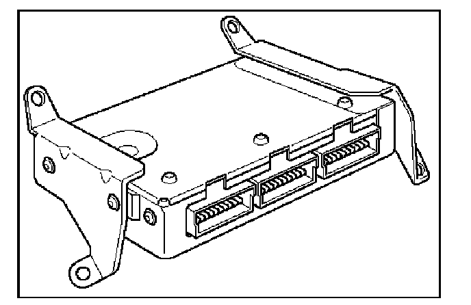
9. Disconnect the red, white and blue electrical connector at the PCM.
10. Remove two nuts in the front of PCM.
11. Remove two nuts in the rear of PCM.




12. Pull the PCM out from dashboard.

INSTALLATION PROCEDURE




1. Place PCM into its position and secure by four mounting screws.




2. Connect all three connectors to PCM. All connectors are color keyed. Same color male and female connectors join together.




3. Install the front center console and secure by four retaining screws.




4. Install the rear center console and secure it by two retaining screw into storage box.
5. Snap face plate into its position and secure it by a screw.
6. Insert ashtray inner.
7. Insert the shift knob.
8. Connect the negative battery cable.




9. Remove wheel blocks.