LEMON Manuals: Even more car manuals for everyone: 1960-2025
Home >> Isuzu >> 2004 >> Ascender 2WD L6-4.2L >> Repair and Diagnosis >> Diagrams >> Exploded Views >> Engine >> Piston and Connecting Rod Components
April 5, 2026: LEMON Manuals is launched! Read the announcement.

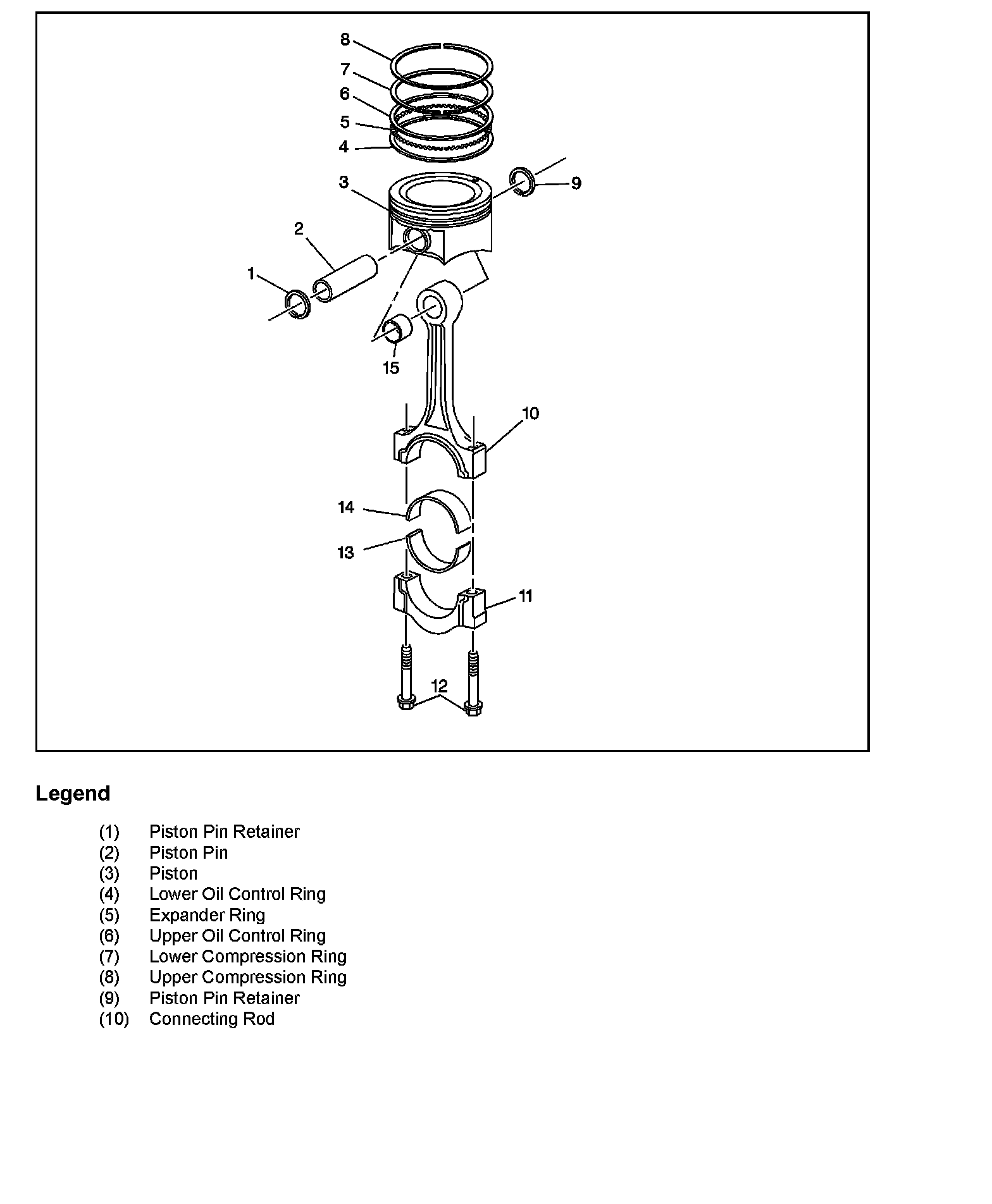
Piston and Connecting Rod Components

Piston and Connecting Rod Components (1 Of 2):




Piston and Connecting Rod Components (2 Of 2):