LEMON Manuals: Even more car manuals for everyone: 1960-2025
Home >> Isuzu >> 2004 >> Axiom 2WD V6-3.5L >> Repair and Diagnosis >> Powertrain Management >> Computers and Control Systems >> Accelerator Pedal Position Sensor >> Adjustments
April 5, 2026: LEMON Manuals is launched! Read the announcement.

Accelerator Pedal Position Sensor: Adjustments

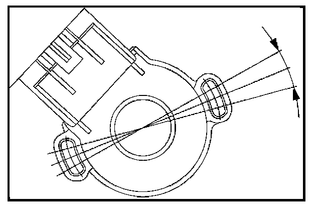
Accelerator Position Sensor Adjustment
AP sensor is controlled three multiple control system, and adjust the idle position and WOT position are between A and B for AP sensor 1, AP sensor 2, and AP sensor 3.

Refer to How to Adjust For AP Sensor.

Removal Procedure
1. Disconnect the negative battery cable.
2. Disconnect the electrical harness from the AP sensor.

How To Adjust For AP Sensor
1. Connect the Tech 2 to DLC on vehicle.
2. Ignition "ON," engine "OFF.".




3. Display the APS date list. Check the following item for AP position (V).




4. If the problem was found, adjust as necessary.