LEMON Manuals: Even more car manuals for everyone: 1960-2025
Home >> Isuzu >> 2004 >> Axiom 2WD V6-3.5L >> Repair and Diagnosis >> Transmission and Drivetrain >> Automatic Transmission/Transaxle >> Control Module >> Service and Repair
April 5, 2026: LEMON Manuals is launched! Read the announcement.

Control Module: Service and Repair






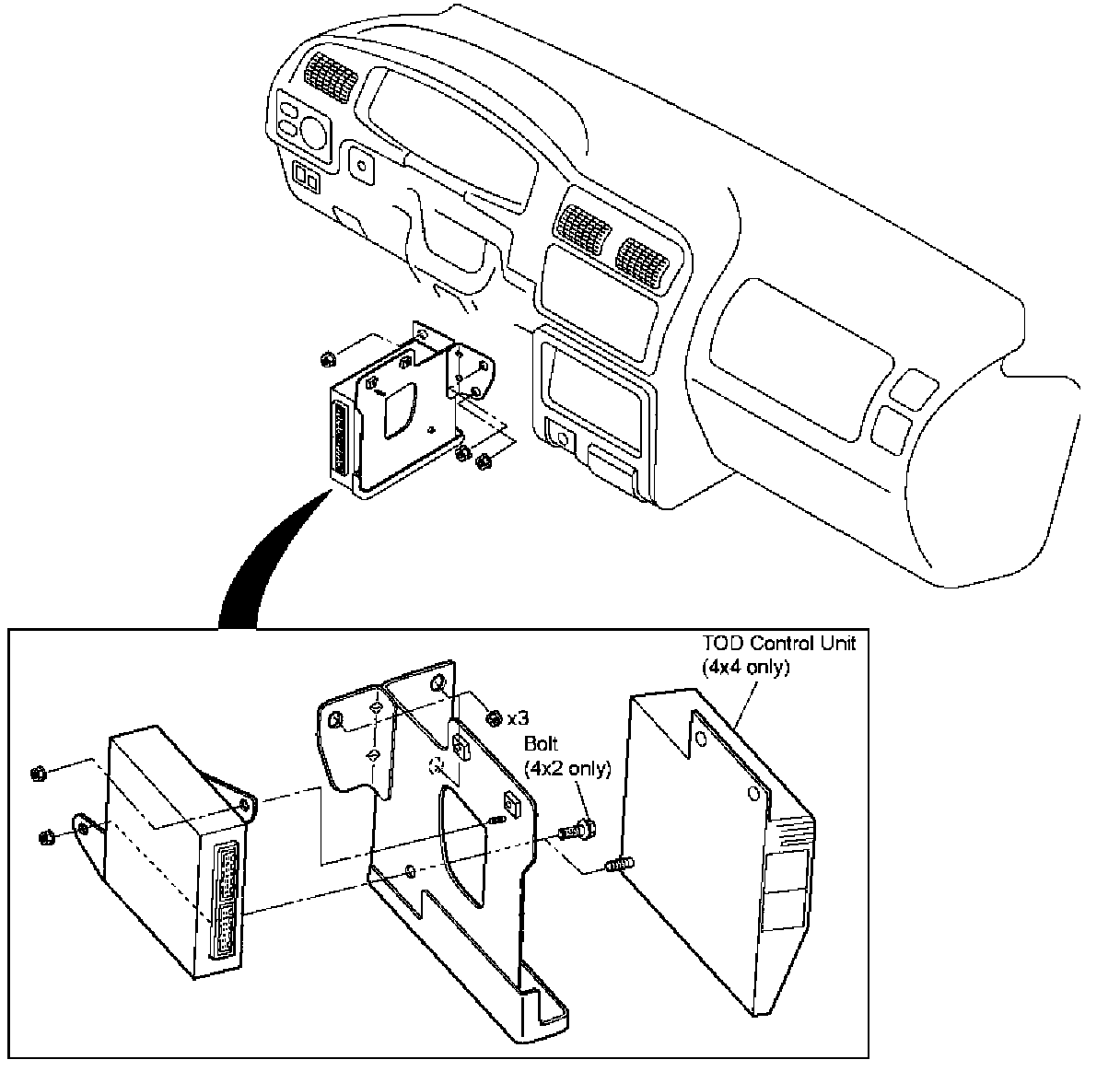
Transmission Control Module (TCM)
Removal

Preparation:
Disconnect negative (-) battery cable.
1. Disconnect the TCM harness connectors.
2. Disconnect the TOD harness connectors. (With TOD only)
3. Remove fixing nuts (2 pieces) and TCM from the vehicle.

NOTE: The TCM is fitted under instrument panel of the driver's compartment by means of two stud bolts.

Installation
To install, follow the removal steps in reverse order.