LEMON Manuals: Even more car manuals for everyone: 1960-2025
Home >> Isuzu >> 2004 >> Axiom Base, 4WD >> Repair and Diagnosis >> Brakes >> Traction Control >> Anti-Lock Brake System >> Front Wheel Speed Sensor (2WD Model) >> Installation
April 5, 2026: LEMON Manuals is launched! Read the announcement.

Front Wheel Speed Sensor (2WD Model): Installation

  1. Clean the area of the hub that contacts the speed sensor.
  2. Apply silicone gasket sealer (Isuzu P/N 2-90067-800-0) around the flange surface.
    NOTE: Do not allow excess silicone and/or debris to enter the sensor housing.
    Fig 1: Applying Silicone Gasket Sealer Around Flange Surface
    G02787900Courtesy of ISUZU MOTOR CO.
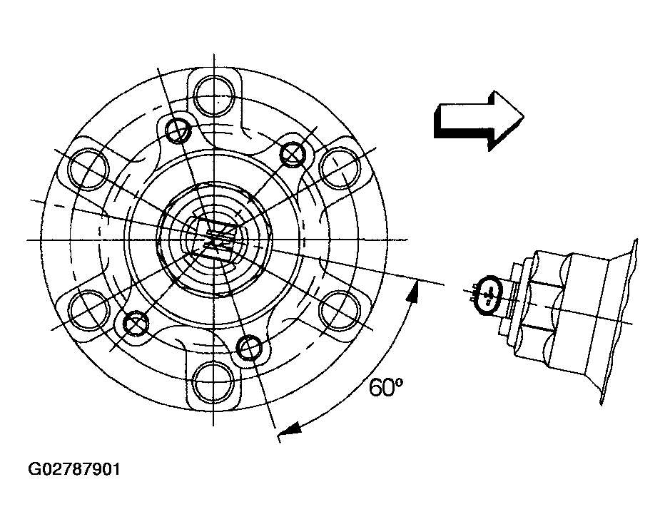
  3. Alignment of the speed sensor connector and hub unit is required. Refer to Fig 2 .
    Fig 2: Aligning Speed Sensor Connector & Hub Unit
    G02787901Courtesy of ISUZU MOTOR CO.
  4. Place the hub assembly (1) and speed sensor (2) face down on Bearing Remover (J-39825). Using a hydraulic press, press until the hub and speed sensor are fully mated, applying pressure no more than 3 lbs (1500 kgf).
    NOTE: To avoid speed sensor breakage Do not use excessive force when pressing the sensor into place.
    Fig 3: Placing Hub Assembly & Speed Sensor On Bearing Remover
    G02787902Courtesy of ISUZU MOTOR CO.
  5. Install the front hub unit assembly to the knuckle. Refer to the workshop manual.