LEMON Manuals: Even more car manuals for everyone: 1960-2025
Home >> Isuzu >> 2004 >> Axiom Base, RWD >> Repair and Diagnosis (Single Page) >> Engine Performance >> System >> Engine Control System - Diagnostic Information & Procedures >> General Description >> General Description (Fuel Metering) >> Basic System Operation (Low, High Fuel Line)
April 5, 2026: LEMON Manuals is launched! Read the announcement.

Basic System Operation (Low, High Fuel Line)

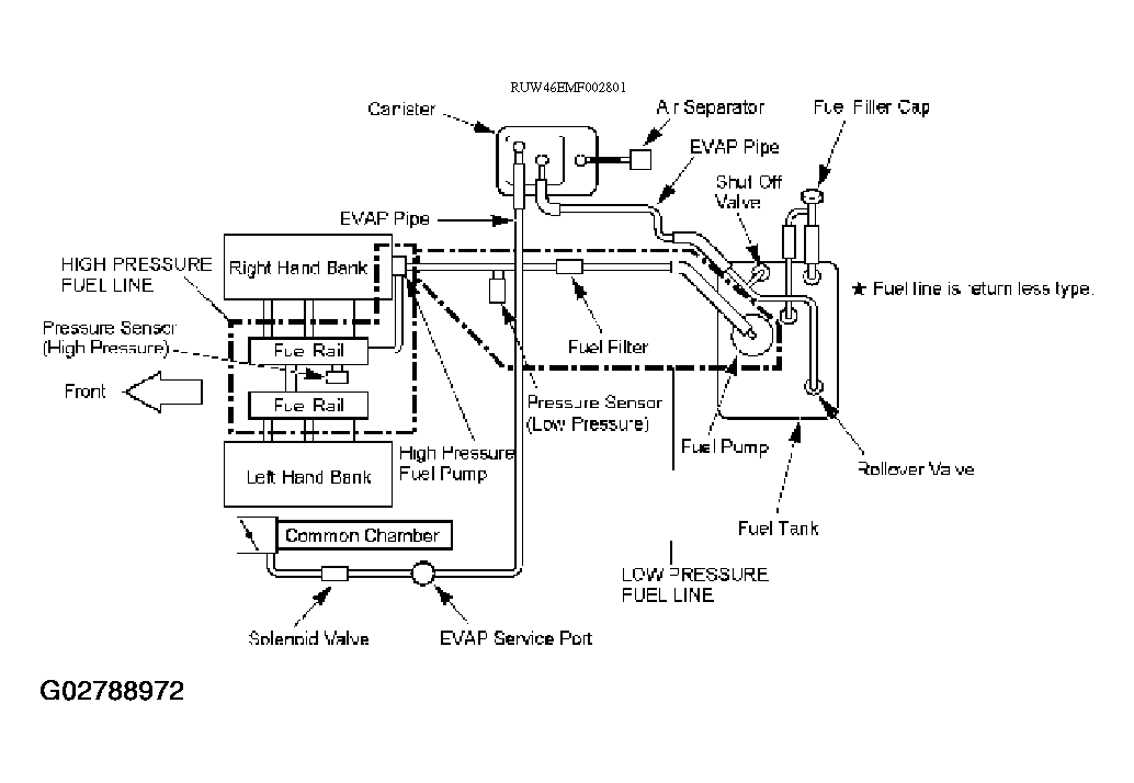
The 6VE1-D1 engine fuel system uses high-pressure direct fuel injection. A new type of high-pressure fuel pump is used.

Fuel is delivered from the fuel tank to the inlet of the high-pressure fuel pump by the low-pressure fuel pump. After that fuel pressure rise 5-10MPa and inject to the cylinder directly.

Fig 1: Identifying Basic System Operation (Low, High Fuel Line)
G02788972Courtesy of ISUZU MOTOR CO.