LEMON Manuals: Even more car manuals for everyone: 1960-2025
Home >> Isuzu >> 2004 >> Axiom Base, RWD >> Repair and Diagnosis >> Transmission >> Automatic Trans >> Transmission Control System >> General Description >> Control System Diagram
April 5, 2026: LEMON Manuals is launched! Read the announcement.

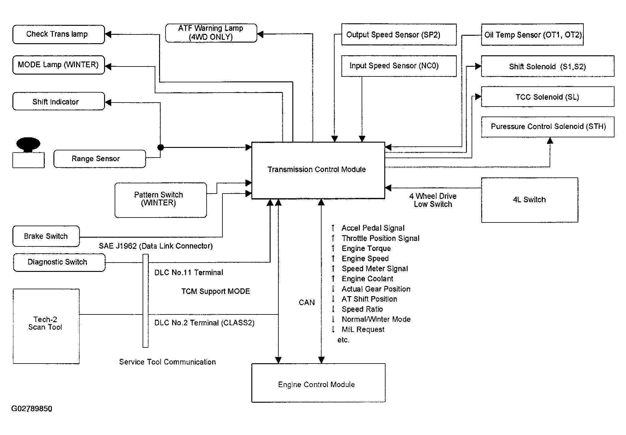
Control System Diagram

Fig 1: Control System Diagram
G02789850Courtesy of ISUZU MOTOR CO.