LEMON Manuals: Even more car manuals for everyone: 1960-2025
Home >> Isuzu >> 2006 >> i-280 L4-2.8L >> Repair and Diagnosis >> Specifications >> Mechanical Specifications >> Engine >> System Specifications >> Service Limits and General Specifications >> Thread Repair Specifications >> Part 1
April 5, 2026: LEMON Manuals is launched! Read the announcement.

Part 1



Thread Repair Specifications

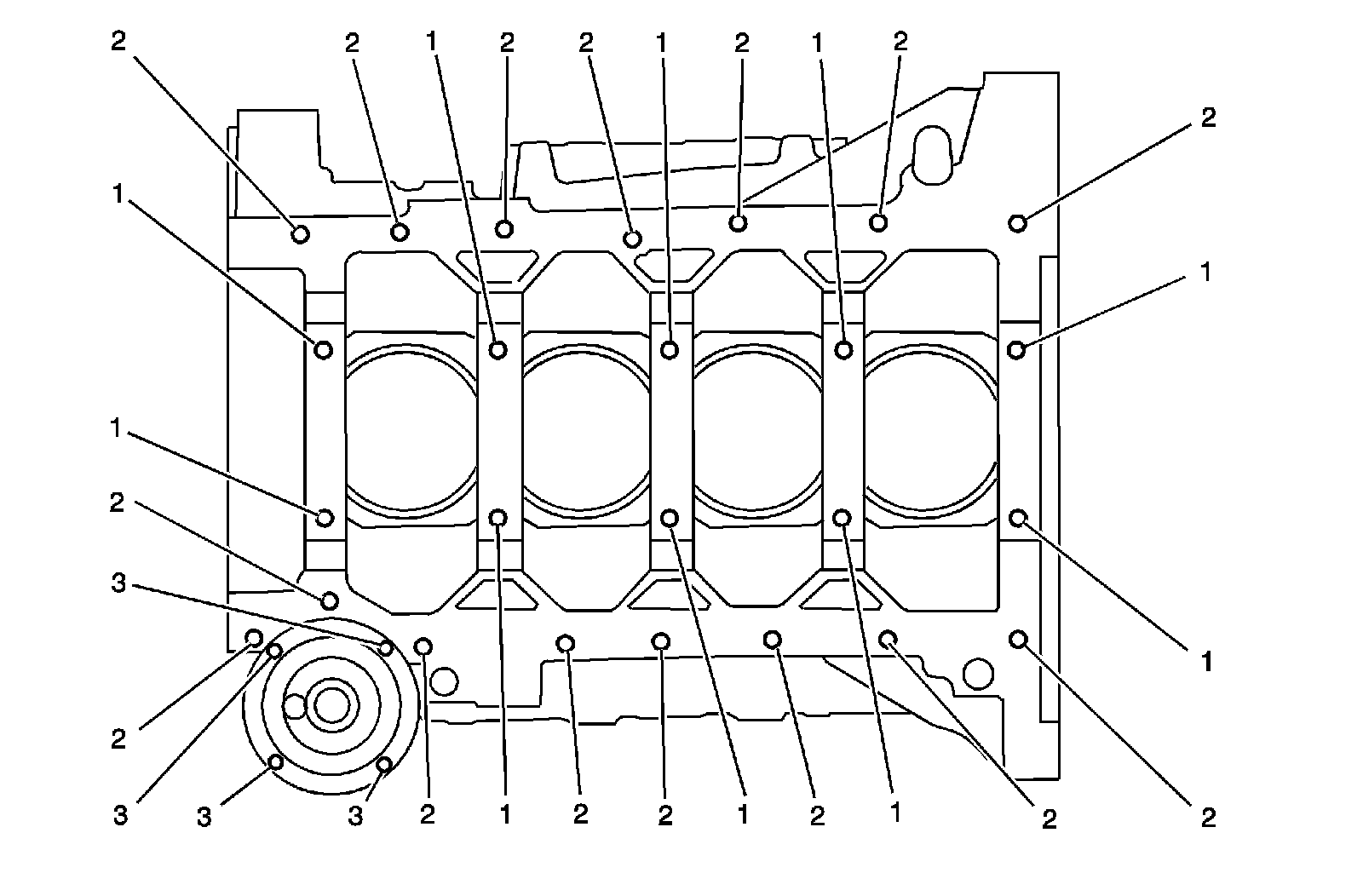
Engine Block - Top View:




Engine Block - Top View:




Engine Block - Bottom:




Engine Block - Bottom:




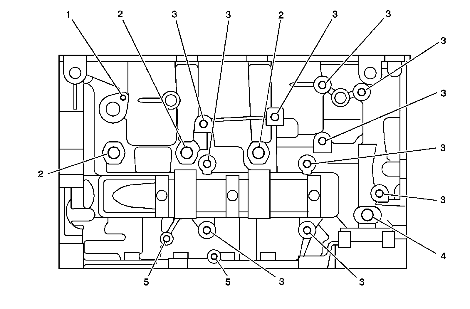
Engine Block - Left Side View:




Engine Block - Left Side View:




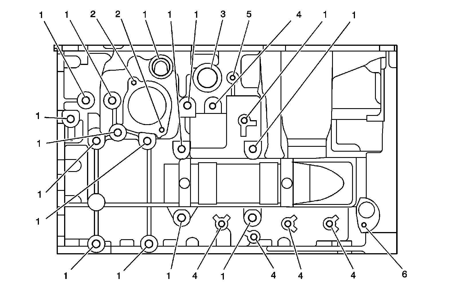
Engine Block - Right Side View:




Engine Block - Right Side View:




Engine Block - Front View:




Engine Block - Front View:




Engine Block - Rear View:




Engine Block - Rear View:




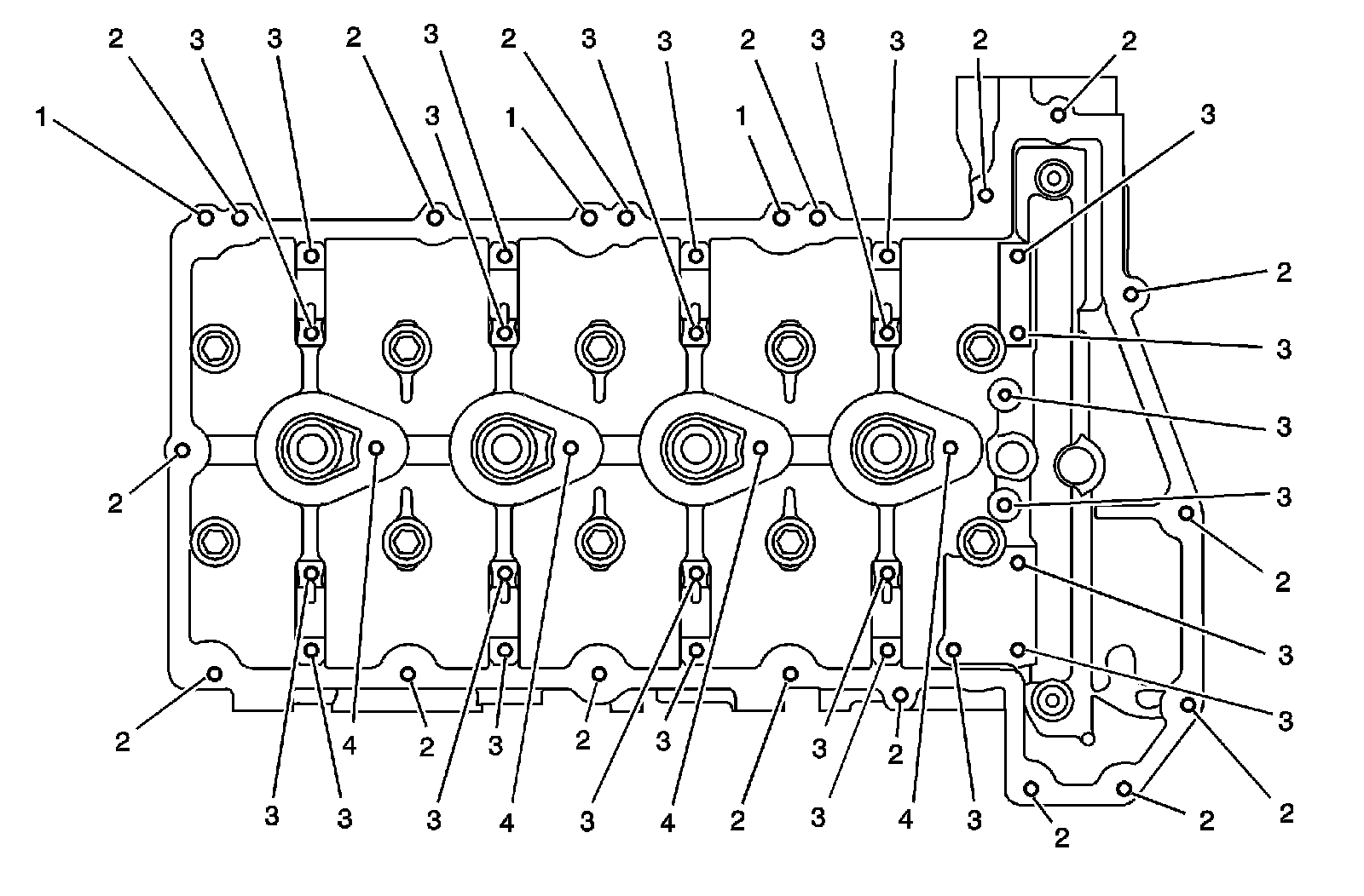
Cylinder Head - Top View:




Cylinder Head - Top View:




Cylinder Head - End - Front View:




Cylinder Head - End - Front View:




Cylinder Head - End - Rear View:




Cylinder Head - End - Rear View:




Cylinder Head - Intake Manifold Deck View:




Cylinder Head - Intake Manifold Deck View: