LEMON Manuals: Even more car manuals for everyone: 1960-2025
Home >> Isuzu >> 2008 >> Ascender 4WD L6-4.2L >> Repair and Diagnosis >> Diagrams >> Connector Views >> Engine Control Module
April 5, 2026: LEMON Manuals is launched! Read the announcement.

Engine Control Module



Component Connector End Views

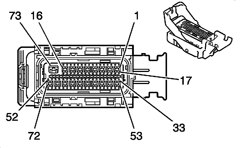
Engine Control Module (ECM) C3









Engine Control Module (ECM) C3 (Pin 1 To 38):





Engine Control Module (ECM) C3 (Pin 39 To 73):






Powertrain Control Module (PCM) X1 (4.2L)









Powertrain Control Module (PCM) X1 (4.2L) (Pin 1 To 34):





Powertrain Control Module (PCM) X1 (4.2L) (Pin 35 To 56):






Powertrain Control Module (PCM) X2 (4.2L)









Powertrain Control Module (PCM) X2 (4.2L) (Pin 1 To 32):





Powertrain Control Module (PCM) X2 (4.2L) (Pin 33 To 73):






Powertrain Control Module (PCM) X3 (4.2L)