LEMON Manuals: Even more car manuals for everyone: 1960-2025
Home >> Jaguar >> 1982 >> XJ-S V12-5.3L >> Repair and Diagnosis >> Powertrain Management >> Computers and Control Systems >> Coolant Temperature Sensor/Switch (For Computer) >> Testing and Inspection
April 5, 2026: LEMON Manuals is launched! Read the announcement.

Coolant Temperature Sensor/Switch (For Computer): Testing and Inspection

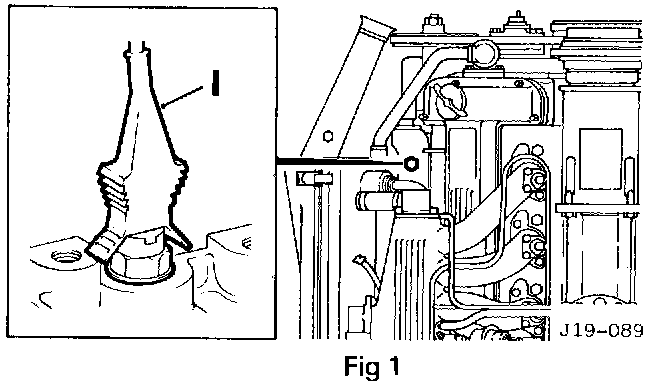
COOLANT TEMPERATURE SENSOR

TEST








Disconnect battery earth lead.

Pull electrical connector from coolant temperature sensor.

Connect suitable ohmmeter between terminals, note resistance reading. The reading is subject to change according to temperature and should closely approximate to the relevant resistance value given in the table. Disconnect ohmmeter.

Check resistance between each terminal in turn and body of sensor. A very high resistance reading (open circuit) must be obtained.

Refit electrical connector to temperature sensor. Re-connect battery earth lead.