LEMON Manuals: Even more car manuals for everyone: 1960-2025
Home >> Jeep >> 1990 >> Cherokee Laredo, 2D Utility, Automatic >> Repair and Diagnosis >> Engine Performance >> System >> Engine Controls - Tests W/Codes - 4.0L >> Code Charts >> Fault 1066: O2 Sensor Reads Lean
April 5, 2026: LEMON Manuals is launched! Read the announcement.

Fault 1066: O2 Sensor Reads Lean

NOTE: For additional oxygen sensor information, see TITANIA OXYGEN SENSOR TESTING article.
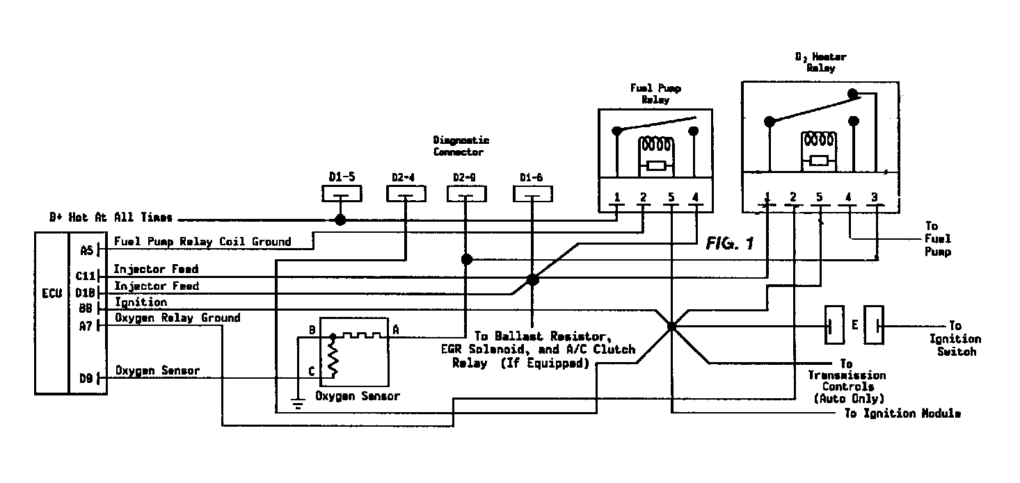
Fig 1: Fault 1066: Circuit Diagram O2 Sensor Reads Lean
G90B17815
Fig 2: Fault 1066: Flow Chart O2 Sensor Reads Lean
G90G17893