LEMON Manuals: Even more car manuals for everyone: 1960-2025
Home >> Jeep >> 2001 >> Cherokee Classic, 4WD, Part Time >> Repair and Diagnosis (Single Page) >> Steering >> Power Steering >> Steering System - Power Recirculating Ball >> Overhaul >> Steering Gear >> Notes
April 5, 2026: LEMON Manuals is launched! Read the announcement.

Steering Gear: Notes

Fig 1: Exploded View Of Power Steering Gear (Cherokee & Wrangler)
G00026101Courtesy of DAIMLERCHRYSLER CORP.
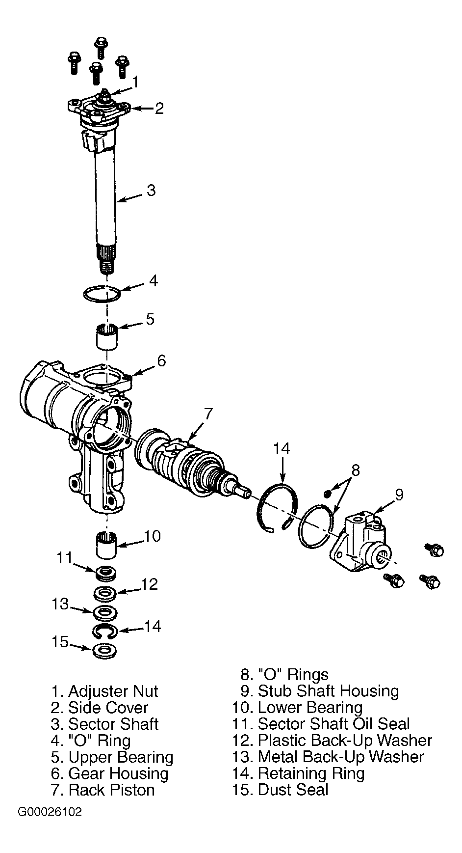
Fig 2: Exploded View Of Power Steering Gear (Grand Cherokee)
G00026102Courtesy of DAIMLERCHRYSLER CORP.
Fig 3: Removing Housing End Cover Retainer Ring (Cherokee & Wrangler)
G00026104Courtesy of CHRYSLER CORP.