LEMON Manuals: Even more car manuals for everyone: 1960-2025
Home >> Jeep >> 2006 >> Commander Base, 4.7 N, RWD >> Repair and Diagnosis (Single Page) >> Accessories & Equipment >> Communication Devices >> Electronic Control Modules - Electrical Diagnostics >> DTC Troubleshooting >> *No Response From FDCM (Final Drive Control Module) >> Diagnostic Test
April 5, 2026: LEMON Manuals is launched! Read the announcement.

Diagnostic Test

  1. 1) TEST FOR INTERMITTENT CONDITION 

    Turn the ignition on.

    NOTE: Ensure the IOD fuse is installed and battery voltage is between 10.0 and 16.0 volts.

    With the scan tool, select ECU view.

    NOTE: A red X will be next to the module that is not communicating, indicating that the module is not active on the Bus network. A green check indicates that the module is active on the Bus network.
    NOTE: Check the FCM for any active CAN C hardware DTCs, perform DTC before proceeding.

    Does the scan tool display a red X next to the module? 

    Yes 

    1. Go To step  2).

    No 

    1. The no response condition is not present at this time. Using the wiring diagram/schematic as a guide, inspect the wiring for chafed, pierced, pinched, and partially broken wires and the wiring harness connectors for broken, bent, pushed out, and corroded terminals.
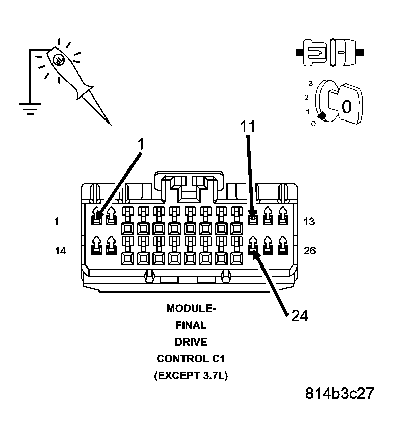
  2. 2) FUSED B(+) CIRCUIT OPEN OR SHORTED 
    Fig 1: Checking Fused B(+) Circuit
    GC0027525Courtesy of DAIMLERCHRYSLER CORP.

    Turn the ignition off.

    Disconnect the Final Drive Control Module harness connectors.

    Using a 12-volt test light connected to ground, check each Fused B(+) circuit.

    Does the test light illuminate brightly for each circuit? 

    Yes 

    1. Go To step  3).

    No 

    1. Repair the Fused B(+) circuit for an open or short.
    2. Perform FDCM VERIFICATION TEST .
  3. 3) GROUND CIRCUIT OPEN 
    Fig 2: Checking Ground Circuit
    GC0027526Courtesy of DAIMLERCHRYSLER CORP.

    Using a 12-volt test light connected to 12-volts, check each Ground circuit.

    Does the test light illuminate brightly for each circuit? 

    Yes 

    1. Go To step  4).

    No 

    1. Repair the ground circuit for an open.
    2. Perform FDCM VERIFICATION TEST .
  4. 4) (F921) FUSED RUN RELAY OUTPUT CIRCUIT OPEN OR SHORTED 
    Fig 3: Checking Fused Run Relay Output Circuit
    GC0027527Courtesy of DAIMLERCHRYSLER CORP.

    Turn the ignition on.

    Using a 12-volt test light connected to ground, check the (F921) Fused Run Relay Output circuit.

    Does the test light illuminate brightly? 

    Yes 

    1. Go To step  5).

    No 

    1. Repair the (F921) Fused Run Relay Output circuit for an open or short.
    2. Perform FDCM VERIFICATION TEST .
  5. 5) (D65) CAN C BUS (+) CIRCUIT OPEN 
    Fig 4: Checking CAN C Bus (+) Circuit
    GC0027528Courtesy of DAIMLERCHRYSLER CORP.

    Turn the ignition off.

    Disconnect the FCM C1 harness connector.

    Measure the resistance of the (D65) CAN C Bus (+) circuit between the FCM connector and the FDCM connector.

    Is resistance below 5.0 ohms? 

    Yes 

    1. Go To step  6).

    No 

    1. Repair the (D65) CAN C Bus (+) circuit for an open.
    2. Perform FDCM VERIFICATION TEST .
  6. 6) (D64) CAN C BUS (-) CIRCUIT OPEN 
    Fig 5: Checking CAN C Bus (-) Circuit
    GC0027529Courtesy of DAIMLERCHRYSLER CORP.

    Measure the resistance of the (D64) CAN C Bus (-) circuit between the FCM connector and the FDCM connector.

    Is resistance below 5.0 ohms? 

    Yes 

    1. Replace the Final Drive Control Module in accordance with the service information.
    2. Perform FDCM VERIFICATION TEST .

    No 

    1. Repair the (D64) CAN C Bus (-) circuit for an open.
    2. Perform FDCM VERIFICATION TEST .