LEMON Manuals: Even more car manuals for everyone: 1960-2025
Home >> Jeep >> 2007 >> Commander Base, 4.7 P, AWD >> Repair and Diagnosis (Single Page) >> Accessories & Equipment >> Anti-Theft Systems >> Power Liftgate System - Electrical Diagnostics >> Power Liftgate - Electrical Diagnostics >> DTC Troubleshooting >> B196D-Power Liftgate Open Direction - Full Open Switch Performance >> Diagnostic Test
April 5, 2026: LEMON Manuals is launched! Read the announcement.

Diagnostic Test

  1. 1) DTC PRESENT 

    With the scan tool, record and erase DTCs.

    Turn the ignition off, wait 10 seconds, then turn the ignition on.

    Operate the power liftgate several times if possible.

    Refer to service information and perform the Power Liftgate Learn Cycle procedure

    With the scan tool, read ACTIVE DTCs.

    Does the scan tool display B196D-POWER LIFTGATE OPEN DIRECTION - FULL OPEN SWITCH PERFORMANCE? 

    Yes 

    1. Go to  2).

    No 

    1. Using the wiring diagram/schematic as a guide, inspect the wiring and connectors for an intermittent condition. Operate the liftgate several times and check for any binding or obstructions.
    2. Perform BODY VERIFICATION TEST .
  2. 2) OBSTRUCTION OR STICKING SWITCH 

    Examine the liftgate for proper fit and alignment, foreign material in the drive unit or anything that would cause an obstruction to proper operation of the Full Open Switch.

    With the scan tool under PLGM, read the FULL OPEN SWITCH state.

    Manually operate the liftgate while monitoring the scan tool.

    Does the switch status change smoothly as the liftgate is pulled down from the full open position? 

    Yes 

    1. Go to  3).

    No 

    1. Go to  4).
  3. 3) (Q51) FULL OPEN SWITCH SENSE CIRCUIT INTERMITTENT SHORT TO GROUND 
    CAUTION: Never operate the Power Liftgate Drive Unit with the link rod removed as it could damage the Drive Unit.

    Gain access to the Power Liftgate Drive Unit harness connector.

    Gain access to the Power Liftgate Module.

    With the scan tool in Inputs/Outputs, read the FULL OPEN SWITCH state.

    Ensure the link rod is connected at this time.

    Manually open the liftgate to mid position.

    While monitoring the scan tool, wiggle the wiring harness from the Power Liftgate Module to the Full Open Switch on the Power Liftgate Drive Unit assembly.

    Did the switch status ever change? 

    Yes 

    1. Repair the (Q51) Liftgate Full Open Switch Sense circuit for an intermittent short to ground.
    2. Perform BODY VERIFICATION TEST .

    No 

    1. Replace the Power Liftgate Drive Unit in accordance with the service information.
    2. Perform BODY VERIFICATION TEST .
  4. 4) POWER LIFTGATE DRIVE UNIT - FULL OPEN SWITCH 
    Fig 1: Measuring Voltage Between Liftgate Full Open Switch Sense Circuit And Logic Ground
    GC0048989Courtesy of CHRYSLER LLC

    Disconnect the Power Liftgate Drive Unit harness connector.

    Measure the voltage between the (Q51) Liftgate Full Open Switch Sense circuit and (Q901) Logic Ground in the Drive Unit harness connector.

    While measuring the voltage, wiggle the harness from the Power Liftgate module to the Power Liftgate Drive Unit harness connector.

    Is the voltage constantly above 4.6 volts? 

    Yes 

    1. Replace the Power Liftgate Drive Unit in accordance with the service information.
    2. Perform BODY VERIFICATION TEST .

    No 

    1. Go to  5).
  5. 5) (Q51) LIFTGATE FULL OPEN SWITCH SENSE CIRCUIT SHORT TO GROUND 
    Fig 2: Measuring Resistance Between Ground And Liftgate Full Open Switch Sense Circuit
    GC0065114Courtesy of CHRYSLER LLC

    Turn the ignition off.

    Disconnect the Power Liftgate Module C1 harness connector.

    Measure the resistance between the (Z800) Ground and the (Q51) Liftgate Full Open Switch sense circuit in the Power Liftgate Drive Unit harness connector.

    Is the resistance below 1000.0 ohms? 

    Yes 

    1. Repair the (Q51) Liftgate Full Open Switch Sense circuit for a short to ground.
    2. Perform BODY VERIFICATION TEST .

    No 

    1. Go to  6).
  6. 6) (Q51) LIFTGATE FULL OPEN SWITCH SENSE CIRCUIT SHORT TO (Q901) LOGIC GROUND 
    Fig 3: Measuring Resistance Between Ground And Liftgate Full Open Switch Sense Circuit
    GC0065114Courtesy of CHRYSLER LLC

    Measure the resistance between the (Q51) Liftgate Full Open Switch sense circuit and the (Q901) Logic Ground circuit in the Power Liftgate Drive Unit harness connector.

    Is the resistance below 1000.0 ohms? 

    Yes 

    1. Repair the (Q51) Liftgate Full Open Switch Sense circuit for a short to ground.
    2. Perform BODY VERIFICATION TEST .

    No 

    1. Go to  2).
  7. 7) (Q901) LOGIC GROUND OPEN 
    Fig 4: Measuring Resistance Between Ground And Logic Ground Circuit
    GC0048913Courtesy of CHRYSLER LLC

    Turn the ignition off.

    Disconnect the Power Liftgate Drive Unit connector.

    Measure the resistance between the (Z800) Ground and the (Q901) Logic Ground circuit in the Power Liftgate Drive Unit connector.

    Is the resistance below 9.5 ohms? 

    Yes 

    1. Go to  8).

    No 

      NOTE: The (Q901) Logic Ground circuit is grounded through the Power Liftgate Module and the (Z800) Ground circuit.
    1. Repair the (Q901) Logic Ground circuit for an open.
    2. Perform BODY VERIFICATION TEST .
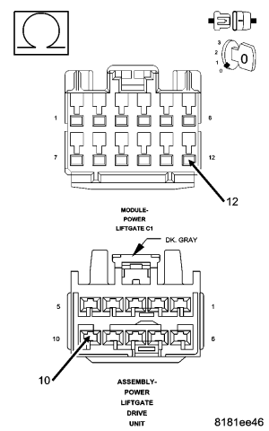
  8. 8) (Q51) LIFTGATE FULL OPEN SWITCH SENSE CIRCUIT OPEN 
    Fig 5: Measuring Resistance Of Liftgate Full Open Switch Sense Circuit
    GC0048986Courtesy of CHRYSLER LLC

    Measure the resistance of the (Q51) Liftgate Full Open Switch Sense circuit between the Power Liftgate C1 harness connector and the Power Liftgate Drive Unit harness connector.

    Wiggle the wiring Power Liftgate Module harness to check for an intermittent open condition.

    Is the resistance below 5.0 ohms? 

    No 

    1. Repair the (Q51) Liftgate Full Open Switch Sense circuit for an open.
    2. Perform BODY VERIFICATION TEST .

    Yes 

    1. Replace the Power Liftgate Module in accordance with the service information.
    2. Perform BODY VERIFICATION TEST .