LEMON Manuals: Even more car manuals for everyone: 1960-2025
Home >> Jeep >> 2007 >> Commander Base, 4.7 P, AWD >> Repair and Diagnosis (Single Page) >> Accessories & Equipment >> Communication Devices >> Navigation System & Telecommunication System - Electrical Diagnostics >> Navigation/Telecommunication - Electrical Diagnostics >> DTC Troubleshooting >> B1411-HFM Left Audio Output Circuit Low >> Diagnostic Test
April 5, 2026: LEMON Manuals is launched! Read the announcement.

Diagnostic Test

  1. 1) CHECK FOR ACTIVE DTC 

    With the scan tool, read the active DTC's.

    Cycle the ignition switch from off to on at least 5 times, leaving the ignition on for a minimum of 90 seconds per cycle.

    With the scan tool, read the active DTC's.

    Does the scan tool display this DTC as active? 

    Yes 

    1. Go to  2).

    No 

    1. If the DTC is stored, check for an intermittent condition. Visually inspect the related wiring harness connectors. Look for broken, bent, pushed out, or corroded terminals.
  2. 2) (X703) LEFT AUDIO OUTPUT CIRCUIT OPEN 
    Fig 1: Checking Left Audio Output Circuit For Open
    GC0016182Courtesy of CHRYSLER LLC

    Turn the ignition off.

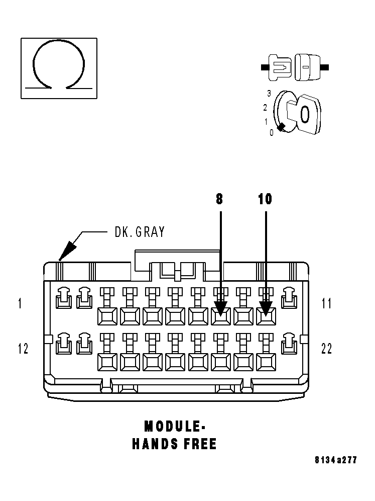
    Disconnect the Hands Free Module harness connector.

    Disconnect the Radio C1 harness connector.

    Measure the resistance of the (X703) Left Audio Output circuit between the HFM connector and the radio connector.

    Is the resistance below 5.0 ohms? 

    Yes 

    1. Go to  3).

    No 

    1. Repair the (X703) Left Audio Output circuit for an open
    2. Perform BODY VERIFICATION TEST .
  3. 3) (X703) LEFT AUDIO OUTPUT CIRCUIT SHORT TO GROUND 
    Fig 2: Checking Left Audio Output Circuit
    GC0016183Courtesy of CHRYSLER LLC

    Measure the resistance between ground and the (X703) Left Audio Output circuit.

    Is the resistance below 5.0 ohms? 

    Yes 

    1. Repair the (X703) Left Audio Output circuit for short to ground.
    2. Perform BODY VERIFICATION TEST .

    No 

    1. Go to  4).
  4. 4) (X795) COMMON AUDIO OUTPUT CIRCUIT OPEN 
    Fig 3: Checking Common Audio Output Circuit
    GC0016184Courtesy of CHRYSLER LLC

    Measure the resistance of the (X795) Common Audio Output circuit between the HFM connector and the radio connector.

    Is the resistance below 5.0 ohms? 

    Yes 

    1. Go to  5).

    No 

    1. Repair the (X795) Common Audio Output circuit for an open.
    2. Perform BODY VERIFICATION TEST .
  5. 5) (X703) LEFT AUDIO OUTPUT CIRCUIT SHORT TO (X795) COMMON AUDIO OUTPUT CIRCUIT 
    Fig 4: Checking Left Audio Output Circuit & Common Audio Output
    GC0016185Courtesy of CHRYSLER LLC

    Measure the resistance between the (X703) Left Audio Output circuit and the (X795) Common Audio Output circuit.

    Is the resistance below 5.0 ohms? 

    Yes 

    1. Repair the (X703) Left Audio Output circuit for a short to the (X795) Common Audio Output circuit.
    2. Perform BODY VERIFICATION TEST .

    No 

    1. Inspect the wiring and connectors for damage or shorted circuits. If OK, replace and program the Hands Free Module in accordance with the service information.
    2. Perform BODY VERIFICATION TEST .