LEMON Manuals: Even more car manuals for everyone: 1960-2025
Home >> Jeep >> 2007 >> Commander Base, 4.7 P, AWD >> Repair and Diagnosis (Single Page) >> Accessories & Equipment >> Wiper/Washer Systems >> Wiper System & Washer System - Electrical Diagnostics >> Wipers/Washers - Electrical Diagnostics >> DTC Troubleshooting >> B231F-Front/Rear Washer Motor Control Circuit Low >> Diagnostic Test
April 5, 2026: LEMON Manuals is launched! Read the announcement.

Diagnostic Test

  1. 1) INTERMITTENT CONDITION 

    Turn the ignition on.

    With the Scan Tool, clear all FCM DTC's.

    Turn the Washers on.

    With the Scan Tool, read the Wiper/Washers DTC's.

    Does the Scan Tool read: B231F-FRONT/REAR WASHER MOTOR CONTROL CIRCUIT LOW? 

    Yes 

    1. Go to  2).

    No 

    1. The condition that caused the symptom is currently not present. Inspect the related wiring for a possible intermittent condition. Look for any chafed, pierced, pinched, or partially broken wires.
    2. Perform BODY VERIFICATION TEST .
  2. 2) WASHER PUMP MOTOR 
    Fig 1: Identifying Washer Pump Motor Connector
    GC0029479Courtesy of CHRYSLER LLC

    Turn the ignition off.

    Disconnect the Washer Pump Motor connector.

    Turn the ignition on.

    With the Scan Tool, read the DTC's.

    Does the Scan Tool read:B231F-FRONT/REAR WASHER MOTOR CONTROL CIRCUIT LOW? 

    Yes 

    1. Go to  3).

    No 

    1. Replace the Washer Pump Motor in accordance with the service information.
    2. Perform BODY VERIFICATION TEST .
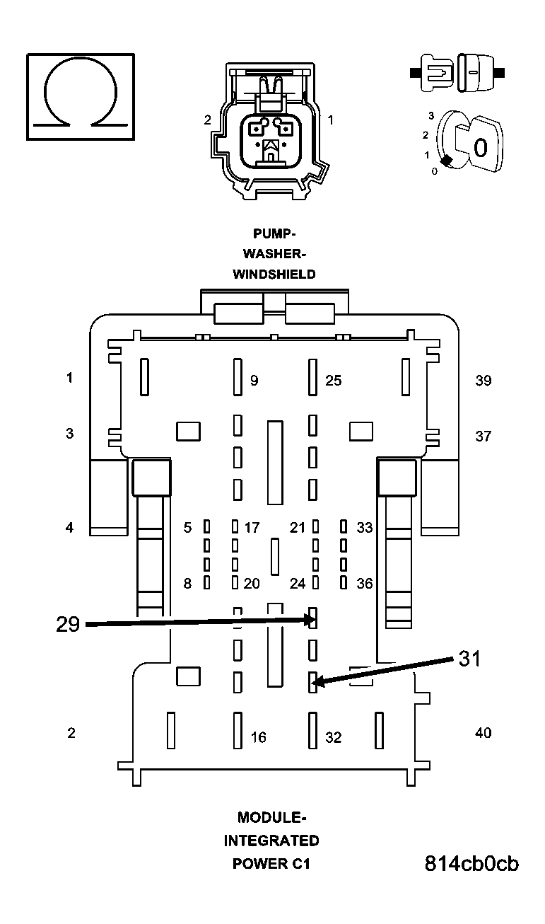
  3. 3) (W10)/(W20) WASHER PUMP MOTOR CONTROL CIRCUITS SHORT TOGETHER 
    Fig 2: Checking Washer Pump Motor Control Circuits
    GC0029480Courtesy of CHRYSLER LLC

    Turn the ignition off.

    Disconnect the Washer Pump Motor harness connector.

    Disconnect the IPM C1 harness connector.

    Measure the resistance between the (W10) and (W20) Washer Pump Motor Control circuits.

    Is the resistance below 5.0 ohms? 

    Yes 

    1. Repair the (W10) and (W20) Washer Pump Motor Control circuits for a short together.
    2. Perform BODY VERIFICATION TEST .

    No 

    1. Go to  4).
  4. 4) (W10) WASHER PUMP MOTOR CONTROL CIRCUIT SHORT TO GROUND 
    Fig 3: Checking Washer Pump Motor Control Circuit
    GC0029481Courtesy of CHRYSLER LLC

    Measure the resistance between ground and the (W10) Washer Pump Motor Control circuit.

    Is the resistance below 5.0 ohms? 

    Yes 

    1. Repair the (W10) Washer Pump Motor Control circuit for a short to ground.
    2. Perform BODY VERIFICATION TEST .

    No 

    1. Go to  5).
  5. 5) (W20) WASHER PUMP MOTOR CONTROL CIRCUIT SHORT TO GROUND 
    Fig 4: Checking Washer Pump Motor Control Circuit
    GC0029482Courtesy of CHRYSLER LLC

    Measure the resistance between ground and the (W20) Washer Pump Motor Control circuit.

    Is the resistance below 5.0 ohms? 

    Yes 

    1. Repair the (W20) Washer Pump Motor Control circuit for a short to ground.
    2. Perform BODY VERIFICATION TEST .

    No 

    1. Replace the Front Control Module in accordance with the service information.
    2. Perform BODY VERIFICATION TEST .