LEMON Manuals: Even more car manuals for everyone: 1960-2025
Home >> Jeep >> 2007 >> Commander Base, 4.7 P, AWD >> Repair and Diagnosis (Single Page) >> Transmission >> Transmission Control Systems >> 545RFE Automatic Transmission - Electrical Diagnostics >> Automatic Transmission 545RFE - Electrical Diagnostics >> DTC Troubleshooting >> P0716-Input Speed Sensor 1 Circuit Performance >> Diagnostic Test
April 5, 2026: LEMON Manuals is launched! Read the announcement.

Diagnostic Test

  1. 1) CHECK IF DTC IS CURRENT 

    Start the engine in park.

    With the scan tool, monitor the Input Speed Sensor RPM.

    Is the Input Speed Sensor RPM below 400 RPM? 

    Yes 

    1. Go to  2).

    No 

    1. Go to  9).
  2. 2) CHECK THE INPUT SPEED SENSOR 

    Turn the ignition off to the lock position.

    Remove the Starter Relay.

    CAUTION: Removal of the Starter Relay will prevent the vehicle from being started in gear.
    WARNING: The Starter Relay must be removed from the PDC. Failure to do so can result in personal injury or death.
    NOTE: Failure to remove the Starter Relay can cause a Transmission - No Response condition.

    Install the Transmission Simulator, Miller tool #8333.

    Ignition on, engine not running.

    With the Transmission Simulator, set the selector switch to 3000/1000 and the Input/Output switch to ON.

    With the scan tool, monitor the Input and Output Speed Sensor RPM.

    Does the Input speed read 3000 RPM and the Output speed read 1000 RPM ± 50 RPM? 

    Yes 

    1. Replace the Input Speed Sensor per the Service Information.
    2. Perform 45RFE/545RFE TRANSMISSION VERIFICATION TEST .

    No 

    1. Go to  3).
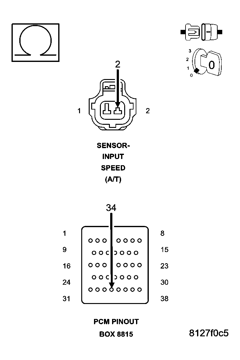
  3. 3) CHECK THE (T52) INPUT SPEED SENSOR SIGNAL CIRCUIT FOR A SHORT TO VOLTAGE 
    Fig 1: Checking Input Speed Sensor Signal Circuit For Short To Voltage
    GC0005124Courtesy of CHRYSLER LLC

    Turn the ignition off to the lock position.

    Disconnect the PCM C4 harness connector and connect Miller tool #8815.

    NOTE: Make sure to leave the Speed Sensor, Transmission Solenoid/TRS Assembly, and Line Pressure Sensor harness connectors disconnected.
    CAUTION: Do not probe the PCM harness connectors. Probing the PCM harness connectors will damage the PCM terminals resulting in poor terminal to pin connection. Install Miller tool #8815 to perform diagnosis.

    Remove the Transmission Control Relay.

    Place a jumper wire between the (A104) Fused B(+) circuit and the (T16) Transmission Control Relay Output circuit in the Transmission Control Relay connector.

    Ignition on, engine not running.

    Measure the voltage of the (T52) Input Speed Sensor Signal circuit.

    Is the voltage above 0.5 volts? 

    Yes 

    1. Repair the (T52) Input Speed Sensor Signal circuit for a short to voltage.
    2. Perform 45RFE/545RFE TRANSMISSION VERIFICATION TEST .

    No 

    1. Go to  4).
  4. 4) CHECK THE (T13) SPEED SENSOR GROUND CIRCUIT FOR A SHORT TO VOLTAGE 
    Fig 2: Checking Speed Sensor Ground Circuit For Short To Voltage
    GC0005125Courtesy of CHRYSLER LLC

    Measure the voltage of the (T13) Speed Sensor Ground circuit.

    Is the voltage above 0.5 volts? 

    Yes 

    1. Repair the (T13) Speed Sensor Ground circuit for a short to voltage.
    2. Perform 45RFE/545RFE TRANSMISSION VERIFICATION TEST .

    No 

    1. Go to  5).
  5. 5) CHECK THE (T52) INPUT SPEED SENSOR SIGNAL CIRCUIT FOR AN OPEN 
    Fig 3: Checking Input Speed Sensor Signal Circuit For Open
    GC0005126Courtesy of CHRYSLER LLC

    Turn the ignition off to the lock position.

    Disconnect the jumper wire between the (A104) Fused B(+) circuit and the (T16) Transmission Control Relay Output circuit in the Transmission Control Relay connector.

    Measure the resistance of the (T52) Input Speed Sensor Signal circuit between the Input Speed Sensor harness connector and the appropriate terminal of Miller tool #8815.

    Is the resistance above 5.0 ohms? 

    Yes 

    1. Repair the (T52) Input Speed Sensor Signal circuit for an open.
    2. Perform 45RFE/545RFE TRANSMISSION VERIFICATION TEST .

    No 

    1. Go to  6).
  6. 6) CHECK THE (T13) SPEED SENSOR GROUND CIRCUIT FOR AN OPEN 
    Fig 4: Checking Speed Sensor Ground Circuit For Open
    GC0005127Courtesy of CHRYSLER LLC

    Measure the resistance of the (T13) Speed Sensor Ground circuit between the Input Speed Sensor harness connector and the appropriate terminal of Miller tool #8815.

    Is the resistance above 5.0 ohms? 

    Yes 

    1. Repair the (T13) Speed Sensor Ground circuit for an open.
    2. Perform 45RFE/545RFE TRANSMISSION VERIFICATION TEST .

    No 

    1. Go to  7).
  7. 7) CHECK THE (T52) INPUT SPEED SENSOR SIGNAL CIRCUIT FOR A SHORT TO GROUND 
    Fig 5: Checking Input Speed Sensor Signal Circuit For Short To Ground
    GC0005128Courtesy of CHRYSLER LLC

    Measure the resistance between ground and the Input Speed Sensor Signal circuit.

    Is the resistance below 5.0 ohms? 

    Yes 

    1. Repair the (T52) Input Speed Sensor Signal circuit for a short to ground.
    2. Perform 45RFE/545RFE TRANSMISSION VERIFICATION TEST .

    No 

    1. Go to  8).
  8. 8) CHECK THE (T13) SPEED SENSOR GROUND CIRCUIT FOR A SHORT TO GROUND 
    Fig 6: Checking Speed Sensor Ground Circuit For Short To Ground
    GC0005129Courtesy of CHRYSLER LLC

    Measure the resistance between ground and the (T13) Speed Sensor Ground circuit.

    Is the resistance below 5.0 ohms? 

    Yes 

    1. Repair the (T13) Speed Sensor Ground circuit for a short to ground.
    2. Perform 45RFE/545RFE TRANSMISSION VERIFICATION TEST .

    No 

    1. Using the schematics as a guide, check the Powertrain Control Module (PCM) terminals for corrosion, damage, or terminal push out. Pay particular attention to all power and ground circuits. If no problems are found, replace and program the PCM per the Service Information. With the scan tool, perform Quick Learn.
    2. Perform 45RFE/545RFE TRANSMISSION VERIFICATION TEST .
  9. 9) CHECK WIRING AND CONNECTORS 

    The conditions necessary to set this DTC are not present at this time.

    Using the schematics as a guide, inspect the wiring and connectors specific to this circuit.

    Wiggle the wires while checking for shorted and open circuits.

    With the scan tool, check the Event Data to help identify the conditions in which the DTC was set.

    Were there any problems found? 

    Yes 

    1. Repair as necessary.
    2. Perform 45RFE/545RFE TRANSMISSION VERIFICATION TEST .

    No 

    1. Test Complete.