LEMON Manuals: Even more car manuals for everyone: 1960-2025
Home >> Jeep >> 2007 >> Commander Base, 4.7 P, AWD >> Repair and Diagnosis (Single Page) >> Transmission >> Transmission Control Systems >> 545RFE Automatic Transmission - Electrical Diagnostics >> Automatic Transmission 545RFE - Electrical Diagnostics >> DTC Troubleshooting >> P0882-TCM Power Input Low >> Diagnostic Test
April 5, 2026: LEMON Manuals is launched! Read the announcement.

Diagnostic Test

  1. 1) CHECK IF THE DTC IS CURRENT 

    With the scan tool, read DTCs.

    Is the status Active or is the Starts Since Set counter 0 for this DTC? 

    Yes 

    1. Go to  2).

    No 

    1. Go to  9).
  2. 2) CHECK THE (A104) FUSED B(+) CIRCUIT FOR AN OPEN 
    Fig 1: Checking Fused B+ Circuit For Open
    GC0005117Courtesy of CHRYSLER LLC

    Turn the ignition off to the lock position.

    Remove the Transmission Control Relay.

    NOTE: Check connectors - Clean/repair as necessary.

    Ignition on, engine not running.

    Using a 12-volt test light connected to ground, check the (A104) Fused B(+) circuit in the Transmission Control Relay connector.

    NOTE: The test light must illuminate brightly. Compare the brightness to that of a direct connection to the battery.

    Does the test light illuminate brightly? 

    Yes 

    1. Go to  3).

    No 

    1. Repair the (A104) Fused B(+) circuit for an open. If the fuse is open make sure to check for a short to ground.
    2. Perform 45RFE/545RFE TRANSMISSION VERIFICATION TEST .
  3. 3) CHECK THE (Z915) TRANSMISSION CONTROL RELAY GROUND CIRCUIT FOR AN OPEN 
    Fig 2: Checking Transmission Control Relay Ground Circuit For Open
    GC0005172Courtesy of CHRYSLER LLC

    Using a 12-volt test light connected to 12-volts, check the (Z915) Transmission Control Relay Ground circuit in the Transmission Control Relay connector.

    Does the test light illuminate brightly? 

    Yes 

    1. Go to  4).

    No 

    1. Repair the (Z915) Transmission Control Relay Ground circuit for an open.
    2. Perform 45RFE/545RFE TRANSMISSION VERIFICATION TEST .
  4. 4) CHECK THE TRANSMISSION CONTROL RELAY 

    Turn the ignition off to the lock position.

    Install a substitute relay in place of the Transmission Control Relay.

    Start the vehicle.

    With the scan tool, read DTCs.

    Did the DTC P0882 reset? 

    Yes 

    1. Go to  5).

    No 

    1. Replace the Transmission Control Relay.
    2. Perform 45RFE/545RFE TRANSMISSION VERIFICATION TEST .
  5. 5) CHECK THE (T16) TRANSMISSION CONTROL RELAY OUTPUT CIRCUIT FOR AN OPEN 
    Fig 3: Checking Transmission Control Relay Output Circuit For Open
    GC0005118Courtesy of CHRYSLER LLC

    Turn the ignition off to the lock position.

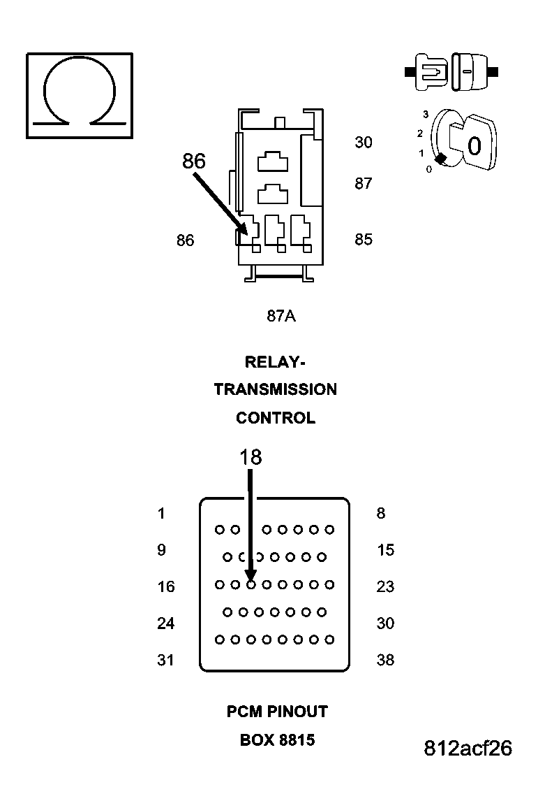
    Disconnect the PCM C4 harness connector and connect Miller tool #8815.

    Disconnect the Transmission Solenoid/TRS Assembly harness connector.

    CAUTION: Do not probe the PCM harness connectors. Probing the PCM harness connectors will damage the PCM terminals resulting in poor terminal to pin connection. Install Miller tool #8815 to perform diagnosis.

    Connect a jumper wire between the (A104) Fused B(+) circuit and the Transmission Control Relay Output circuit in the Transmission Control Relay connector.

    Ignition on, engine not running.

    Using a 12-volt test light connected to ground, check all four (T16) Transmission Control Relay Output circuits in the PCM C4 harness connector and Transmission Solenoid/TRS Assembly harness connector.

    Does the test light illuminate brightly on all four (T16) Transmission Control Relay Output circuits? 

    Yes 

    1. Go to  6).

    No 

    1. Repair the (T16) Transmission Control Relay Output circuit(s) for an open or high resistance.
    2. Perform 45RFE/545RFE TRANSMISSION VERIFICATION TEST .
  6. 6) CHECK THE (T16) TRANSMISSION RELAY OUTPUT CIRCUIT FOR A SHORT TO GROUND 
    Fig 4: Checking Transmission Relay Output Circuit For Short To Ground
    GC0005169Courtesy of CHRYSLER LLC

    Turn the ignition off to the lock position.

    Measure the resistance between ground and the (T16) Transmission Control Relay Output circuit.

    Is the resistance below 5.0 ohms? 

    Yes 

    1. Repair the (T16) Transmission Control Relay Output circuit for a short to ground.
    2. Perform 45RFE/545RFE TRANSMISSION VERIFICATION TEST .

    No 

    1. Go to  7).
  7. 7) CHECK THE (T15) TRANSMISSION CONTROL RELAY CONTROL CIRCUIT FOR A SHORT TO GROUND 
    Fig 5: Checking Transmission Control Relay Control Circuit For Short To Ground
    GC0005171Courtesy of CHRYSLER LLC

    Measure the resistance between ground and the (T15) Transmission Control Relay Control circuit.

    Is the resistance below 5.0 ohms? 

    Yes 

    1. Repair the (T15) Transmission Control Relay Control circuit for a short to ground.
    2. Perform 45RFE/545RFE TRANSMISSION VERIFICATION TEST .

    No 

    1. Go to  8).
  8. 8) CHECK THE (T15) TRANSMISSION CONTROL RELAY CONTROL CIRCUIT FOR AN OPEN 
    Fig 6: Checking Transmission Control Relay Control Circuit For Open
    GC0005170Courtesy of CHRYSLER LLC

    Measure the resistance of the (T15) Transmission Control Relay Control circuit between the Transmission Control Relay connector and the appropriate terminal of Miller tool #8815.

    Is the resistance above 5.0 ohms? 

    Yes 

    1. Repair the (T15) Transmission Control Relay Control circuit for an open.
    2. Perform 45RFE/545RFE TRANSMISSION VERIFICATION TEST .

    No 

    1. Using the schematics as a guide, check the Powertrain Control Module (PCM) terminals for corrosion, damage, or terminal push out. Pay particular attention to all power and ground circuits. If no problems are found, replace and program the PCM per the Service Information. With the scan tool, perform Quick Learn.
    2. Perform 45RFE/545RFE TRANSMISSION VERIFICATION TEST .
  9. 9) CHECK WIRING AND CONNECTORS 

    The conditions necessary to set this DTC are not present at this time.

    Using the schematics as a guide, inspect the wiring and connectors specific to this circuit.

    Wiggle the wires while checking for shorted and open circuits.

    With the scan tool, check the Event Data to help identify the conditions in which the DTC was set.

    Where there any problems found? 

    Yes 

    1. Repair as necessary.
    2. Perform 45RFE/545RFE TRANSMISSION VERIFICATION TEST .

    No 

    1. Test Complete.