LEMON Manuals: Even more car manuals for everyone: 1960-2025
Home >> Jeep >> 2007 >> Commander Overland, 4WD >> Repair and Diagnosis (Single Page) >> Engine Performance >> Ignition System >> Ignition System - Electrical Diagnostics >> Ignition Systems - Electrical Diagnostics >> DTC Troubleshooting >> B2184-Ignition Unlock Run/Start Control Circuit Low >> Diagnostic Test
April 5, 2026: LEMON Manuals is launched! Read the announcement.

Diagnostic Test

  1. 1) CHECK FOR ACTIVE DTC 

    With the scan tool, read the active DTC's.

    Cycle the ignition switch from off to on, leaving the ignition on for a minimum of 10 seconds.

    With the scan tool, read the active DTC's.

    Does the scan tool display this DTC as active? 

    Yes 

    1. Go to  2).

    No 

    1. If the DTC is stored, check for an intermittent condition. Using the wiring diagram/schematic as a guide, visually inspect the related wiring harness connectors. Look for broken, bent, pushed out, or corroded terminals.
  2. 2) DETERMINE ENGINE SIZE 

    Is this vehicle equipped with a 3.7L engine? 

    Yes 

    1. Go to  3).

    No 

    1. Go to  6).
  3. 3) SHIFT LEVER ASSEMBLY 
    Fig 1: Identifying Shift Lever Assembly Harness Connector
    GC0044486Courtesy of CHRYSLER LLC

    With the scan tool, erase the FCM DTC's.

    Turn the ignition off.

    Disconnect the Shift Lever Assembly harness connector.

    Cycle the ignition switch from off to on, leaving the ignition on for a minimum of 10 seconds.

    With the scan tool, read the active FCM DTC's.

    Does the scan tool display this DTC as active? 

    Yes 

    1. Go to  4).

    No 

    1. Replace the Shift Lever Assembly in accordance with the service information.
    2. Perform BODY VERIFICATION TEST .
  4. 4) (F1) FUSED IGNITION SWITCH OUTPUT WIRE SHORT TO GROUND 
    Fig 2: Checking Fused Ignition Switch Output Circuit For Short To Ground
    GC0044487Courtesy of CHRYSLER LLC

    Turn the ignition off.

    Disconnect the Integrated Power Module C1 harness connector.

    Measure the resistance between ground and the (F1) Fused Ignition Switch Output circuit in the IPM C1 connector.

    Is the resistance below 1000.0 ohms? 

    No 

    1. Go to  5).

    Yes 

    1. Repair the (F1) Fused Ignition Switch Output circuit for a short to ground.
    2. Perform BODY VERIFICATION TEST .
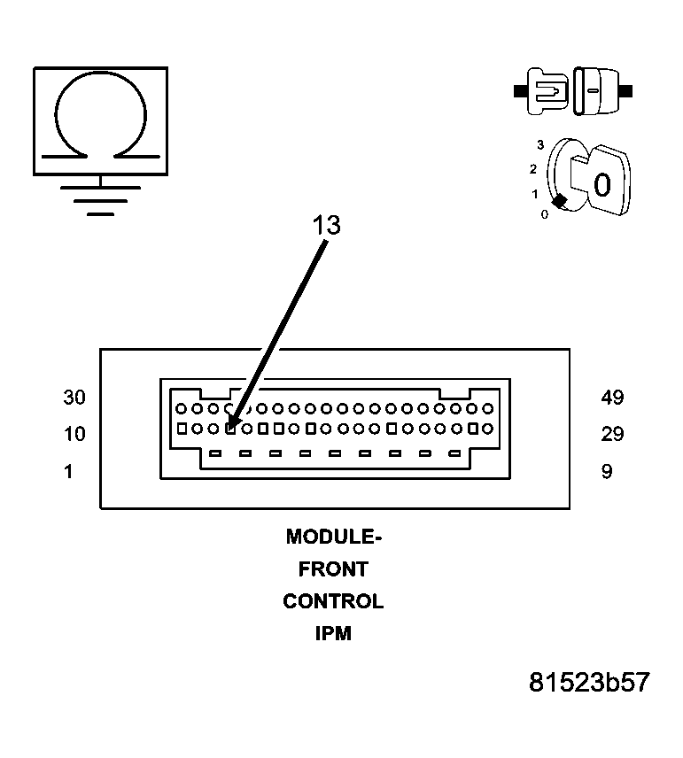
  5. 5) INTEGRATED POWER MODULE SHORTED 
    Fig 3: Checking Fused Ignition Switch Output Circuit
    GC0044488Courtesy of CHRYSLER LLC

    Remove the FCM from the Integrated Power Module.

    Measure the resistance between ground and the (F1) Fused Ignition Switch Output circuit in the Front Control Module IPM connector.

    Is the resistance below 1000.0 ohms? 

    Yes 

    1. Replace the Integrated Power Module in accordance with service information.
    2. Perform BODY VERIFICATION TEST .

    No 

    1. Replace and program the Front Control Module in accordance with the service information.
    2. Perform BODY VERIFICATION TEST .
  6. 6) POWERTRAIN CONTROL MODULE 
    Fig 4: Identifying Powertrain Control Module C1 Connector
    GC0044489Courtesy of CHRYSLER LLC

    With the scan tool, erase the FCM DTC's.

    Turn the ignition off.

    Disconnect the Powertrain Control Module C1 connector.

    Cycle the ignition switch from off to on, leaving the ignition on for a minimum of 10 seconds.

    With the scan tool, read the active FCM DTC's.

    Does the scan tool display this DTC as active? 

    Yes 

    1. Go to  7).

    No 

    1. Replace the Powertrain Control Module in accordance with the service information.
    2. Perform BODY VERIFICATION TEST .
  7. 7) (F1) FUSED IGNITION SWITCH OUTPUT WIRE SHORT TO GROUND 
    Fig 5: Checking Fused Ignition Switch Output Circuit For Short To Ground
    GC0044487Courtesy of CHRYSLER LLC

    Turn the ignition off.

    Disconnect the Integrated Power Module C1 harness connector.

    Measure the resistance between ground and the (F1) Fused Ignition Switch Output circuit in the IPM C1 connector.

    Is the resistance below 1000.0 ohms? 

    No 

    1. Go to  5).

    Yes 

    1. Repair the (F1) Fused Ignition Switch Output circuit for a short to ground.
    2. Perform BODY VERIFICATION TEST .