LEMON Manuals: Even more car manuals for everyone: 1960-2025
Home >> Jeep >> 2007 >> Commander Overland, 4WD >> Repair and Diagnosis (Single Page) >> Engine Performance >> Ignition System >> Ignition System - Electrical Diagnostics >> Ignition Systems - Electrical Diagnostics >> DTC Troubleshooting >> B2185-Ignition Unlock Run/Start Control Circuit High >> Diagnostic Test
April 5, 2026: LEMON Manuals is launched! Read the announcement.

Diagnostic Test

  1. 1) CHECK FOR ACTIVE DTC 

    With the scan tool, read the active DTC's.

    Cycle the ignition switch from off to on, leaving the ignition on for a minimum of 10 seconds then turn the ignition off.

    With the scan tool, read the active DTC's.

    Does the scan tool display this DTC as active? 

    Yes 

    1. Go to  2).

    No 

    1. If the DTC is stored, check for an intermittent condition. Using the wiring diagram/schematic as a guide, visually inspect the related wiring harness connectors. Look for broken, bent, pushed out, or corroded terminals.
  2. 2) DETERMINE ENGINE SIZE 

    Is this vehicle equipped with a 3.7L engine? 

    Yes 

    1. Go to  3).

    No 

    1. Go to  6).
  3. 3) (F1) FUSED IGNITION SWITCH OUTPUT (RUN START) CIRCUIT SHORTED TO VOLTAGE 
    Fig 1: Checking Fused Ignition Switch Output (RUN START) Circuit
    GC0044490Courtesy of CHRYSLER LLC

    Disconnect the Shift Lever Assembly harness connector.

    Cycle the ignition switch from off to on then back to off.

    NOTE: The ignition switch must be in the off position when performing the following step.

    Using a 12-volt test light connected to ground, check the (F1) Fused Ignition Switch Output (Run Start) circuit.

    Does the test light illuminate brightly? 

    Yes 

    1. Repair the (F1) Fused Ignition Switch Output (Run Start) circuit for a short to voltage.
    2. Perform BODY VERIFICATION TEST .

    No 

    1. Go to  4).
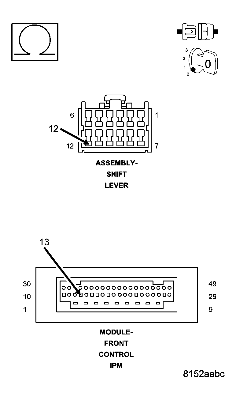
  4. 4) SHIFT LEVER ASSEMBLY 
    Fig 2: Checking Fused Ignition Switch Output (RUN START) Circuit
    GC0044491Courtesy of CHRYSLER LLC

    Turn the ignition on.

    With the test light still connected from the previous step, check the (F1) Fused Ignition Switch Output (Run Start) circuit.

    Does the test light illuminate brightly? 

    Yes 

    1. Replace the Shift Lever Assembly in accordance with the service information.
    2. Perform BODY VERIFICATION TEST .

    No 

    1. Go to  5).
  5. 5) (F1) FUSED IGNITION SWITCH OUTPUT (RUN START) CIRCUIT OPEN 
    Fig 3: Checking Fused Ignition Switch Output (RUN START) Circuit
    GC0044492Courtesy of CHRYSLER LLC

    Turn the ignition off.

    Remove the FCM from the Integrated Power Module.

    Measure the resistance of the (F1) Fused Ignition Switch Output (Run Start) circuit between the Shift Lever Assembly and the FCM-IPM connector.

    Is the resistance below 5.0 ohms? 

    Yes 

    1. Inspect the wiring and connectors for damage or shorted circuits. If OK, replace and program the Front Control Module in accordance with the service information.
    2. Perform BODY VERIFICATION TEST .

    No 

    1. Repair the (F1) Fused Ignition Switch Output (Run Start) circuit for an open.
    2. Perform BODY VERIFICATION TEST .
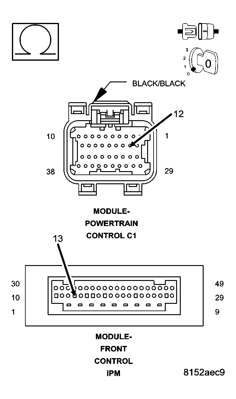
  6. 6) (F1) FUSED IGNITION SWITCH OUTPUT (RUN START) CIRCUIT SHORTED TO VOLTAGE 
    Fig 4: Checking Fused Ignition Switch Output (RUN START) Circuit For Short To Voltage
    GC0044493Courtesy of CHRYSLER LLC

    Disconnect the Powertrain Control Module C1 harness connector.

    CAUTION: Do not probe the PCM harness connectors. Probing the PCM harness connectors will damage the PCM terminals resulting in poor terminal to pin connection. Install Miller Special Tool #8815 to perform diagnosis.

    Cycle the ignition switch from off to on then back to off.

    NOTE: The ignition switch must be in the off position when performing the following step.

    Using a 12-volt test light connected to ground, check the (F1) Fused Ignition Switch Output (Run Start) circuit.

    Does the test light illuminate brightly? 

    Yes 

    1. Repair the (F1) Fused Ignition Switch Output (Run Start) circuit for a short to voltage.
    2. Perform BODY VERIFICATION TEST .

    No 

    1. Go to  7).
  7. 7) POWERTRAIN CONTROL MODULE 
    Fig 5: Checking Fused Ignition Switch Output (RUN START) Circuit
    GC0044494Courtesy of CHRYSLER LLC

    Turn the ignition on.

    With the test light still connected from the previous step, check the (F1) Fused Ignition Switch Output (Run Start) circuit.

    CAUTION: Do not probe the PCM harness connectors. Probing the PCM harness connectors will damage the PCM terminals resulting in poor terminal to pin connection. Install Miller Special Tool #8815 to perform diagnosis.

    Does the test light illuminate brightly? 

    Yes 

    1. Replace the Powertrain Control Module in accordance with the service information.
    2. Perform BODY VERIFICATION TEST .

    No 

    1. Go to  8).
  8. 8) (F1) FUSED IGNITION SWITCH OUTPUT (RUN START) CIRCUIT OPEN 
    Fig 6: Checking Fused Ignition Switch Output (RUN START) Circuit For Open
    GC0044495Courtesy of CHRYSLER LLC

    Turn the ignition off.

    Remove the FCM from the Integrated Power Module.

    CAUTION: Do not probe the PCM harness connectors. Probing the PCM harness connectors will damage the PCM terminals resulting in poor terminal to pin connection. Install Miller Special Tool #8815 to perform diagnosis.

    Measure the resistance of the (F1) Fused Ignition Switch Output (Run Start) circuit between the Powertrain Control Module C1 connector and the FCM-IPM connector.

    Is the resistance below 5.0 ohms? 

    Yes 

    1. Inspect the wiring and connectors for damage or shorted circuits. If OK, replace and program the Front Control Module in accordance with the service information.
    2. Perform BODY VERIFICATION TEST .

    No 

    1. Repair the (F1) Fused Ignition Switch Output (Run Start) circuit for an open.
    2. Perform BODY VERIFICATION TEST .