LEMON Manuals: Even more car manuals for everyone: 1960-2025
Home >> Jeep >> 2007 >> Commander Overland, 4WD >> Repair and Diagnosis (Single Page) >> Restraints >> Restraints Control Systems >> Air Bag Restraint System - Electrical Diagnostics >> Restraints - Electrical Diagnostics >> DTC Troubleshooting >> B212D-Ignition Run Only Input Circuit Open >> Diagnostic Test
April 5, 2026: LEMON Manuals is launched! Read the announcement.

Diagnostic Test

  1. 1) VERIFY THAT DTC B212D-IGNITION RUN ONLY INPUT CIRCUIT OPEN IS ACTIVE 
    NOTE: Ensure the battery is fully charged.

    Turn the ignition on.

    Read and erase all ORC DTCs.

    Wait 10 seconds.

    With the scan tool, read Occupant Restraint Controller (ORC) DTCs.

    Does the scan tool display active: B212D-IGNITION RUN ONLY INPUT CIRCUIT OPEN? 

    Yes 

    1. Go to  2).

    No 

    1. Go to  9).
  2. 2) CHECK FOR ACTIVE B2122-IGNITION RUN CONTROL CIRCUIT LOW IN THE INSTRUMENT CLUSTER 

    With the scan tool, read Instrument Cluster (CCN) DTCs.

    Does the scan tool display active: B2122-IGNITION RUN CONTROL CIRCUIT LOW DTCs? 

    Yes 

    1. Refer to DIAGNOSIS AND TESTING .

    No 

    1. Go to  3).
  3. 3) INSPECT AIRBAG RUN CIRCUIT FUSE 
    Fig 1: Inspecting Airbag Run Circuit Fuse
    GC0027708Courtesy of CHRYSLER LLC

    Turn the ignition off.

    Remove the Airbag Run Circuit Fuse 30 from the IPM and inspect the fuse.

    NOTE: Check connectors - Clean and repair as necessary.

    Is the fuse open? 

    Yes 

    1. Go to  4).

    No 

    1. Go to  6).
  4. 4) CHECK (F214) FUSED RUN RELAY OUTPUT CIRCUIT RESISTANCE 
    Fig 2: Checking Fused Run Relay Output Circuit Resistance
    GC0027709Courtesy of CHRYSLER LLC

    Measure the resistance of the (F100) Fused Run Relay Output circuit between the Airbag Run Relay Output Circuit fuse 30 (output side) terminal and ground.

    Is the resistance below 100.0 ohms? 

    Yes 

    1. Go to  5).

    No 

    1. Using the wiring diagram/schematic as a guide, inspect the related wiring and connectors. Look for chafed, pierced, pinched, or partially broken wires and broken, bent, pushed out, spread, corroded, or contaminated terminals.
    2. Replace Airbag Run Circuit Fuse.
    3. Perform *ORC VERIFICATION TEST - VER 1 .
  5. 5) CHECK (F100) FUSED RUN RELAY OUTPUT CIRCUIT RESISTANCE WITH ORC CONNECTOR DISCONNECTED 
    Fig 3: Checking Fused Run Relay Output Circuit Resistance With ORC C2 Connector Disconnected
    GC0027710Courtesy of CHRYSLER LLC
    WARNING: If the Occupant Restraint Controller is dropped at any time, it must be replaced. Failure to take the proper precautions can result in accidental airbag deployment and serious or fatal injury.
    WARNING: To avoid serious or fatal injury, turn the ignition off, disconnect the battery and wait two minutes before proceeding.

    Disconnect the ORC both connectors.

    NOTE: Check connectors - Clean and repair as necessary.

    Connect the Load Tool ORC 8443-24 Adapter to the ORC C2 connector.

    Measure the resistance of the (F100) Fused Run Relay Output circuit between 8443-24 adapter cavity C2-24 and ground.

    Is the resistance below 100.0 ohms? 

    Yes 

    1. Repair the (F214) Fused Run Relay Output circuit for a short to ground.
    2. Replace the Airbag Run Circuit Fuse.
    3. Perform *ORC VERIFICATION TEST - VER 1 .

    No 

    1. Replace the ORC in accordance with the Service Information.
    2. Replace the Airbag Run Circuit Fuse.
    3. Perform *ORC VERIFICATION TEST - VER 1 .
  6. 6) CHECK (F923) RUN RELAY OUTPUT CIRCUIT VOLTAGE 
    Fig 4: Checking Run Relay Output Circuit Voltage
    GC0027711Courtesy of CHRYSLER LLC

    Turn the ignition on.

    Measure the voltage of the (F923) Run Relay Output circuit at the Airbag Run Circuit fuse terminal (supply side).

    Is the voltage above 6.0 volts? 

    Yes 

    1. Go to  7).

    No 

    1. Go to  8).
  7. 7) CHECK (F100) FUSED RUN RELAY OUTPUT CIRCUIT FOR AN OPEN 
    Fig 5: Checking Fused Run Relay Output Circuit For Open
    GC0027712Courtesy of CHRYSLER LLC
    WARNING: To avoid serious or fatal injury, turn the ignition off, disconnect the battery and wait two minutes before proceeding.

    Reinstall the Airbag Run Circuit Fuse.

    Disconnect the ORC C2 connector.

    NOTE: Check connectors - Clean and repair as necessary.

    Connect the Airbag Load Tool ORC 8443-24 Adapter to the ORC C2 harness connector.

    WARNING: To avoid serious or fatal injury, turn the ignition on, then reconnect the battery.

    Measure the voltage of the (F100) Fused Run Relay Output Circuit between the 8443-24 adapter cavity C2-24 and ground.

    Is the voltage above 6.0 volts? 

    Yes 

    1. Replace the ORC in accordance with the Service Information.
    2. Perform *ORC VERIFICATION TEST - VER 1 .

    No 

    1. Repair the open (F100) Fused Run Relay Output circuit between the ORC module and the IPM.
    2. Perform *ORC VERIFICATION TEST - VER 1 .
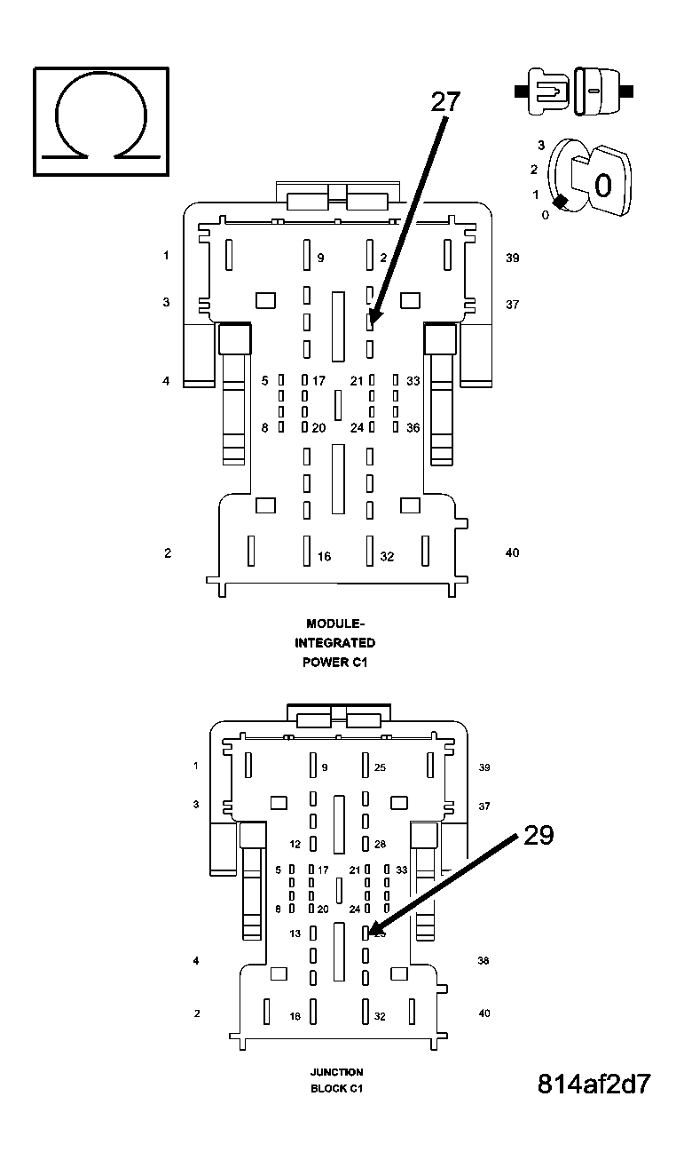
  8. 8) CHECK (F923) RUN RELAY INOPERATIVE OR OPEN OUTPUT 
    Fig 6: Checking Run Relay Inoperative Or Open Output
    GC0027713Courtesy of CHRYSLER LLC

    Turn the ignition off.

    Disconnect the Junction Block C1 connector.

    Disconnect the Integrated Power Module C1 connector.

    NOTE: Check connectors - Clean and repair as necessary.

    Measure the resistance of the Run Relay Output circuit from the IPM to the Junction Block.

    Is the resistance below 5.0 ohms? 

    Yes 

    1. Repair the (F923) Run Relay Output circuit for an open.
    2. Perform *ORC VERIFICATION TEST - VER 1 .

    No 

    1. Replace the Junction Block (the relay is not replaceable).
    2. Perform *ORC VERIFICATION TEST - VER 1 .
  9. 9) TEST FOR INTERMITTENT CONDITION 

    With the scan tool, record and erase all DTCs from all Airbag modules.

    If any ACTIVE codes are present they must be resolved before diagnosing any stored codes.

    WARNING: To avoid serious or fatal injury, turn the ignition off, disconnect the battery and wait two minutes before proceeding.

    Using the wiring diagram/schematic as a guide, inspect the wiring and connectors.

    Look for chafed, pierced, pinched, or partially broken wires and broken, bent, pushed out, spread, corroded, or contaminated terminals.

    The following additional checks may assist you in identifying a possible intermittent problem.

    Reconnect any disconnected components and harness connector.

    WARNING: To avoid serious or fatal injury, turn the ignition on, then reconnect the battery.

    With the scan tool, monitor active codes as you work through the following steps.

    WARNING: To avoid serious or fatal injury, maintain a safe distance from all airbags while performing the following steps.

    Wiggle the wiring harness and connectors of the related airbag circuit or component.

    If codes are related to the Driver Airbag circuits, rotate the steering wheel from stop to stop.

    If only stored codes return, continue the test until the problem area has been isolated.

    In the previous steps you have attempted to recreate the conditions responsible for setting the active DTC in question.

    Does the scan tool display any ACTIVE DTCs? 

    Yes 

    1. Select the appropriate symptom from DIAGNOSTIC CODE INDEX  table.

    No 

    1. No problem found at this time. Perform *ORC VERIFICATION TEST - VER 1 . Erase all codes before returning vehicle to customer.