LEMON Manuals: Even more car manuals for everyone: 1960-2025
Home >> Jeep >> 2007 >> Compass Limited, FWD, Automatic CVT >> Repair and Diagnosis (Single Page) >> Accessories & Equipment >> Communication Devices >> Electronic Control Modules - Electrical Diagnostics >> Electronic Control Modules - Electrical Diagnostics >> DTC Troubleshooting >> *No Response From TCM (Transmission Control Module) (CVT) >> Diagnostic Test
April 5, 2026: LEMON Manuals is launched! Read the announcement.

Diagnostic Test

  1. 1) TEST FOR INTERMITTENT CONDITION 
    NOTE: Check for any TSB(s) related to the condition. If a TSB applies, perform the procedure outlined in the TSB before continuing.

    Turn the ignition on.

    NOTE: Ensure the IOD fuse is installed and battery voltage is between 10.0 and 16.0 volts.

    With the scan tool, select ECU View.

    NOTE: A red X will be next to the module that is not communicating, indicating that the module is not active on the Bus network. A green check indicates that the module is active on the Bus network.
    NOTE: Check the TIPM for any active CAN C hardware DTC's, perform DTC before proceeding.

    Does the scan tool display a red X next to the module? 

    Yes 

    1. Go To step  2).

    No 

    1. The no response condition is not present at this time. Using the wiring diagram/schematic as a guide, inspect the wiring for chafed, pierced, pinched, and partially broken wires and the wiring harness connectors for broken, bent, pushed out, and corroded terminals.
  2. 2) (A952) FUSED B(+) CIRCUIT OPEN OR SHORTED 
    Fig 1: Checking (A952) Fused B(+) Circuit
    GC0053219Courtesy of CHRYSLER LLC

    Turn the ignition off.

    Disconnect the TCM C2 harness connector.

    Using a 12-volt test light connected to ground, check the (A952) Fused B(+) circuit.

    Does the test light illuminate brightly? 

    Yes 

    1. Go To step  3).

    No 

    1. Repair the (A952) Fused B(+) circuit for an open or short.
    2. Perform CVT VERIFICATION TEST .
  3. 3) (Z967) GROUND CIRCUIT OPEN 
    Fig 2: Checking Each (Z967) Ground Circuit
    GC0053220Courtesy of CHRYSLER LLC

    Using a 12-volt test light connected to 12-volts, check each (Z967) ground circuit.

    Does the test light illuminate brightly? 

    Yes 

    1. Go To step  4).

    No 

    1. Repair the (Z967) ground circuit for an open.
    2. Perform CVT VERIFICATION TEST .
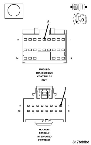
  4. 4) (D65) CAN C BUS (+) CIRCUIT OPEN 
    Fig 3: Measuring Resistance Of (D65) CAN C Bus (+) Circuit Between TIPM C3 Harness Connector And TCM C1 Harness Connector
    GC0053221Courtesy of CHRYSLER LLC

    Turn the ignition off.

    Disconnect the TIPM C3 harness connector.

    Disconnect the TCM C1 harness connector.

    Measure the resistance of the (D65) CAN C Bus (+) circuit between the TIPM C3 harness connector and the TCM C1 harness connector.

    Is the resistance below 5.0 ohms? 

    Yes 

    1. Go To step  5).

    No 

    1. Repair the (D65) CAN C Bus (+) circuit for an open.
    2. Perform CVT VERIFICATION TEST .
  5. 5) (D64) CAN C BUS (-) CIRCUIT OPEN 
    Fig 4: Measuring Resistance Of (D64) CAN C Bus (-) Circuit Between TIPM C3 Harness Connector And TCM C1 Harness Connector
    GC0053222Courtesy of CHRYSLER LLC

    Measure the resistance of the (D64) CAN C Bus (-) circuit between the TIPM C3 harness connector and the TCM C1 harness connector.

    Is the resistance below 5.0 ohms? 

    Yes 

    1. Replace and program the Transmission Control Module in accordance with the service information.
    2. Perform the appropriate VERIFICATION TEST.

    No 

    1. Repair the (D64) CAN C Bus (-) circuit for an open.
    2. Perform CVT VERIFICATION TEST .