LEMON Manuals: Even more car manuals for everyone: 1960-2025
Home >> Jeep >> 2007 >> Compass Limited, FWD, Automatic CVT >> Repair and Diagnosis (Single Page) >> Transmission >> Transmission Control Systems >> (Continuously Variable Transmission (CVT) - Electrical Diagnostics) >> CVT - Electrical Diagnostics >> DTC Troubleshooting >> P1661-Sensor Ground Reference Circuit >> Diagnostic Test
April 5, 2026: LEMON Manuals is launched! Read the announcement.

Diagnostic Test

  1. 1) CHECK TO SEE IF THE DTC IS ACTIVE 

    With the scan tool, read Transmission DTCs.

    Is the status Active for this DTC or is the STARTS SINCE SET counter 2 or less? 

    Yes 

    1. Go To  2).

    No 

    1. Go To  4).
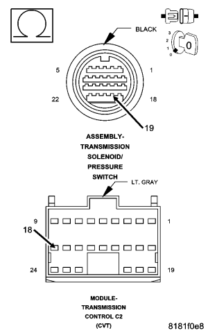
  2. 2) CHECK THE (T13) SENSOR GROUND CIRCUIT FOR AN OPEN 
    Fig 1: Checking Sensor Ground Circuit For Open
    GC0056453Courtesy of CHRYSLER LLC

    Turn the ignition off to the lock position.

    Disconnect the TCM C2 harness connector.

    Disconnect the Transmission Solenoid/Pressure Switch Assembly harness connector.

    Measure the resistance of the (T13) Sensor Ground circuit between the TCM C2 harness connector and the Transmission Solenoid/Pressure Switch Assembly harness connector.

    Is the resistance above 5.0 ohms? 

    Yes 

    1. Repair the (T13) Sensor Ground circuit for an open.
    2. Perform CVT VERIFICATION TEST .

    No 

    1. Go To  3).
  3. 3) CHECK THE (T13) SENSOR GROUND CIRCUIT FOR AN OPEN INTERNALLY 

    Using the schematics as a guide, check the Transmission Control Module (TCM) terminals for corrosion, damage, or terminal push out. Pay particular attention to all power and ground circuits. Check for any Service Bulletins for possible causes that may apply. If no problems are found, replace and program the TCM per the Service Information.

    Perform CVT VERIFICATION TEST .

    Does the DTC reset during the Verification procedure? 

    Yes 

    1. Replace the CV Transmission or repair the valve body (internal wiring) per the Service Information.
    2. Perform CVT VERIFICATION TEST .

    No 

    1. Test Complete.
  4. 4) INTERMITTENT WIRING AND CONNECTORS 

    The conditions necessary to set this DTC are not present at this time.

    Using the schematics as a guide, inspect the wiring and connectors specific to this circuit.

    Wiggle the wires while checking for shorted and open circuits.

    Were there any problems found? 

    Yes 

    1. Repair as necessary.
    2. Perform CVT VERIFICATION TEST .

    No 

    1. Test Complete.