LEMON Manuals: Even more car manuals for everyone: 1960-2025
Home >> Jeep >> 2007 >> Compass Limited, FWD, Standard >> Repair and Diagnosis >> Engine Performance >> System >> DTCS P0137 To P0270 >> P0196-Engine Oil Temperature Sensor Performance >> Diagnostic Test
April 5, 2026: LEMON Manuals is launched! Read the announcement.

Diagnostic Test

  1. 1) DTC IS ACTIVE 
    NOTE: Diagnose any CAN - C Communication DTCs before continuing.

    Turn the ignition off.

    If possible, allow the vehicle to sit with the ignition off for more than 480 minutes in an environment where the temperature is consistent and above - 7° C (19.4° F).

    Test drive the vehicle. The vehicle must exceed 48 km/h (30 mph) during the test drive. Do not cycle the ignition off when the test drive is completed.

    With a scan tool, select View DTCs.

    Is the status Active or Pending for this DTC? 

    Yes 

    1. Go To  3).

    No 

    1. Go to  2).
  2. 2) AMBIENT AIR TEMPERATURE 

    Turn the ignition off.

    Allow the vehicle to sit with the ignition off in an environment where the temperature is consistent and above - 7° C (19.4° F) until the engine coolant temperature is equal to ambient temperature.

    Turn the ignition on.

    With a scan tool, compare the Engine Oil Temperature Sensor value to the AAT, ECT, and IAT sensor values.

    Is the Engine Oil Temperature Sensor value within 10° C (18° F) of the other sensor values? 

    Yes 

    1. Refer to the *CHECKING FOR AN INTERMITTENT CONDITION Diagnostic Procedure.

    No 

    1. Go to  3).
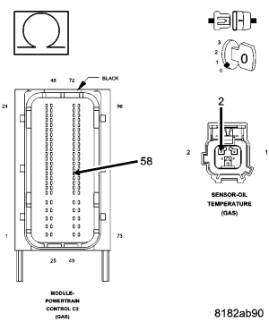
  3. 3) (G24) EOT SIGNAL CIRCUIT SHORTED TO VOLTAGE 
    Fig 1: Measuring Voltage Of (G24) EOT Signal Circuit In Engine Oil Temperature Sensor Harness Connector
    GC0053922Courtesy of CHRYSLER LLC

    Turn the ignition off.

    Disconnect the Engine Oil Temperature Sensor connector.

    Disconnect the Powertrain Control Module (PCM) connector.

    Turn the ignition on.

    Measure the voltage of the (G24) EOT Signal circuit in the Engine Oil Temperature Sensor harness connector.

    Is there any voltage present? 

    Yes 

    1. Repair the (G24) EOT Signal circuit for a short to voltage.
    2. Perform PCM VERIFICATION TEST .

    No 

    1. Go to  4).
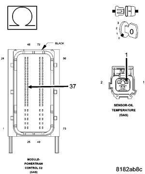
  4. 4) (G24) EOT SIGNAL CIRCUIT SHORTED TO GROUND 
    Fig 2: Checking EOT Sensor Signal Circuit For Short To Ground
    GC0053923Courtesy of CHRYSLER LLC

    Turn the ignition off.

    Measure the resistance between ground and the (G24) EOT Signal circuit in the Engine Oil Temperature Sensor harness connector.

    Is the resistance above 100 ohms? 

    Yes 

    1. Go to  5).

    No 

    1. Repair the (G24) EOT Signal circuit for a short to ground.
    2. Perform PCM VERIFICATION TEST .
  5. 5) (G24) EOT SIGNAL CIRCUIT SHORTED TO (K915) SENSOR GROUND CIRCUIT 
    Fig 3: Checking EOT Sensor Signal Circuit For Short To Ground Circuit
    GC0053924Courtesy of CHRYSLER LLC

    Measure the resistance between the (G24) EOT Signal circuit and the (K915) Sensor Ground circuit in the Engine Oil Temperature Sensor harness connector.

    Is the resistance above 100 ohms? 

    Yes 

    1. Go to  6).

    No 

    1. Repair the (G24) EOT Signal circuit for a short to the (K915) Sensor Ground circuit.
    2. Perform PCM VERIFICATION TEST .
  6. 6) (G24) EOT SIGNAL CIRCUIT OPEN OR HIGH RESISTANCE 
    Fig 4: Checking EOT Sensor Signal Circuit For Open Or High Resistance
    GC0053925Courtesy of CHRYSLER LLC

    Measure the resistance of the (G24) EOT Signal circuit between the Engine Oil Temperature Sensor harness connector and the Powertrain Control Module (PCM) harness connector.

    Is the resistance below 5.0 ohms? 

    Yes 

    1. Go to  7).

    No 

    1. Repair the (G24) EOT Signal circuit for an open circuit or high resistance.
    2. Perform PCM VERIFICATION TEST .
  7. 7) (K915) SENSOR GROUND CIRCUIT OPEN OR HIGH RESISTANCE 
    Fig 5: Checking EOT Sensor Ground Circuit For Open Or High Resistance
    GC0053926Courtesy of CHRYSLER LLC

    Measure the resistance of the (K915) Sensor Ground circuit between the Engine Oil Temperature Sensor harness connector and the Powertrain Control Module (PCM) harness connector.

    Is the resistance below 5.0 ohms? 

    Yes 

    1. Go to  8).

    No 

    1. Repair the (K915) Sensor Ground for an open circuit or high resistance.
    2. Perform PCM VERIFICATION TEST .
  8. 8) ENGINE OIL TEMPERATURE SENSOR 
    Fig 6: Connecting Jumper Wire Between EOT Sensor Ground Circuit And Signal Circuit In EOT Sensor Harness Connector
    GC0053927Courtesy of CHRYSLER LLC

    Turn the ignition off.

    Connect the Powertrain Control Module (PCM) connector.

    Connect a jumper wire between the (K915) Sensor Ground circuit and the (G24) EOT Signal circuit in the Engine Oil Temperature Sensor harness connector.

    Turn the ignition on.

    With the scan tool, read the Engine Oil Temperature Sensor signal voltage.

    Is the voltage below 1.0 volt with the jumper wire in place? 

    Yes 

    1. Replace the Engine Oil Temperature Sensor in accordance with the Service Information.
    2. Perform PCM VERIFICATION TEST .

    No 

    1. Go to  9).
  9. 9) POWERTRAIN CONTROL MODULE (PCM) 

    Using the wiring diagram/schematic as a guide, inspect the wiring and connectors between the Engine Oil Temperature Sensor and the Powertrain Control Module (PCM).

    Look for any chafed, pierced, pinched, or partially broken wires.

    Look for broken, bent, pushed out or corroded terminals.

    Monitor the scan tool data relative to this circuit and wiggle test the wiring and connectors.

    Look for the data to change or for the DTC to reset during the wiggle test.

    Refer to any Technical Service Bulletins that may apply.

    Were any problems found? 

    Yes 

    1. Repair as necessary.
    2. Perform PCM VERIFICATION TEST .

    No 

    1. Replace and program the Powertrain Control Module (PCM) in accordance with the Service Information.
    2. Perform PCM VERIFICATION TEST .