LEMON Manuals: Even more car manuals for everyone: 1960-2025
Home >> Jeep >> 2008 >> Commander 2WD V6-3.7L >> Repair and Diagnosis >> Diagrams >> Connector Views >> Power Distribution Module >> Module-Integrated Power
April 5, 2026: LEMON Manuals is launched! Read the announcement.

Module-Integrated Power




Component ID: 224
Component : MODULE-INTEGRATED POWER

Connector:
Name : MODULE-INTEGRATED POWER C1
Color : GRAY
# of pins : 40




Pin Circuit Description
1 A118 16RD/OR FUSED B(+)
2 A909 14RD FUSED B(+)
3 - -
4 - -
5 L778 20WT/DB FUSED PARK LAMP RELAY OUTPUT
5 L778 20WT/LB FUSED PARK LAMP RELAY OUTPUT
6 L778 20WT/DB FUSED PARK LAMP RELAY OUTPUT
6 L778 20WT/LB FUSED PARK LAMP RELAY OUTPUT
7 L777 20WT/VT FUSED PARK LAMP RELAY OUTPUT
7 L777 20WT/BR FUSED PARK LAMP RELAY OUTPUT
8 L777 20WT/VT FUSED PARK LAMP RELAY OUTPUT
8 L777 20WT/BR FUSED PARK LAMP RELAY OUTPUT
9 N23 10DB/DG HIGH SPEED RADIATOR FAN RELAY OUTPUT
10 W7 20BR/GY FRONT WIPER PARK SWITCH SENSE
11 F201 20PK/OG -
12 F944 18PK/TN IGNITION SWITCH OUTPUT (RUN-START)
13 L76 20WT/BR FUSED PARK LAMP RELAY OUTPUT
13 L76 18WT/BR FUSED PARK LAMP RELAY OUTPUT
14 A114 18GY/RD FUSED B(+)
15 Z387 18BK GROUND
16 L614 18WT/DB TRAILER TOW RIGHT STOP/TURN SIGNAL
17 L778 20WT/DB FUSED PARK LAMP RELAY OUTPUT
17 L778 20WT/LB FUSED PARK LAMP RELAY OUTPUT
18 C918 20BK/LB FCM SENSOR RETURN
19 L777 20WT/BR FUSED PARK LAMP RELAY OUTPUT
19 L777 20WT/VT FUSED PARK LAMP RELAY OUTPUT
20 - -
21 - -
22 - -
23 L62 18WT/OR RIGHT REAR TURN SIGNAL CONTROL
24 K617 20BR/PK -
25 N24 10DG/DB LOW SPEED RADIATOR FAN RELAY OUTPUT
26 F100 20PK/VT FUSED RUN RELAY OUTPUT
27 F923 14PK/YL RUN RELAY OUTPUT
28 Z131 18BK/DG GROUND
29 W10 18BR FRONT WASHER PUMP MOTOR CONTROL
30 K360 20GY/BR PTC NO. 1 RELAY CONTROL
31 W20 18BR/YL REAR WASHER PUMP MOTOR CONTROL
32 A15 16RD/TN FUSED ASD RELAY OUTPUT
33 - -
34 - -
35 - -
36 F1 20PK/WT FUSED IGNITION SWITCH OUTPUT (RUN-START)
37 - -
38 - -
39 - -
40 A114 18GY/RD FUSED B(+)

Component Location - 11




Component Location - 6






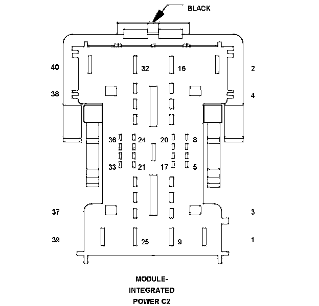
Connector:
Name : MODULE-INTEGRATED POWER C2
Color : BLACK
# of pins : 40




Pin Circuit Description
1 - -
2 L1 18WT/LG BACKUP LAMP FEED
3 - -
4 - -
5 G70 20VT/LB HOOD AJAR SWITCH SENSE
6 - -
7 F20 20PK/WT
8 L1 18WT/LG BACKUP LAMP FEED
9 Z387 18BK GROUND
10 A72 18RD/OR ADJUSTABLE PEDALS RELAY OUTPUT
11 - -
12 - -
13 - -
14 - -
15 L63 18WT/DG LEFT REAR TURN SIGNAL CONTROL
16 - -
17 - -
18 L89 18WT/OR FRONT FOG LAMP RELAY OUTPUT
19 L89 18WT/OR FRONT FOG LAMP RELAY OUTPUT
20 W12 20BR/OR REAR WIPER RELAY CONTROL
21 - -
22 - -
23 K173 20BR/VT HYDRAULIC RADIATOR FAN SOLENOID CONTROL
24 P305 20LG/LB ACCESSORY DELAY RELAY CONTROL
25 A5 16RD/VT FUSED B(+)
26 Z387 18BK GROUND
27 W4 16BR/OR FRONT WIPER HIGH/LOW RELAY HIGH SPEED OUTPUT
28 W3 16BR/WT FRONT WIPER HIGH/LOW RELAY LOW SPEED OUTPUT
29 - -
30 - -
31 L615 18WT/YL TRAILER TOW LEFT STOP/TURN SIGNAL
32 - -
33 - -
34 - -
35 X2 18DG/OR HORN RELAY OUTPUT
36 A35 18RD/DG REAR FOG LAMP RELAY OUTPUT
37 - -
38 - -
39 - -
40 - -

Component Location - 11




Component Location - 6






Connector:
Name : MODULE-INTEGRATED POWER-EYELET
Color :
# of pins : 1




Pin Circuit Description
1 A1 4RD B(+)
Pin Circuit Description
1 A0 6RD B(+)

Component Location - 11




Component Location - 6