LEMON Manuals: Even more car manuals for everyone: 1960-2025
Home >> Jeep >> 2008 >> Commander 2WD V6-3.7L >> Repair and Diagnosis >> Windows and Glass >> Windshield >> Service and Repair >> Removal
April 5, 2026: LEMON Manuals is launched! Read the announcement.

Removal







REMOVAL





1. Before proceeding with the following repair procedure, review all warnings and cautions Service Precautions.
2. Remove the rear view mirror Interior Rearview Mirror - Removal.
3. Remove the rain sensor module from the windshield Removal.
4. Remove the cowl grille Cowl Moulding / Trim

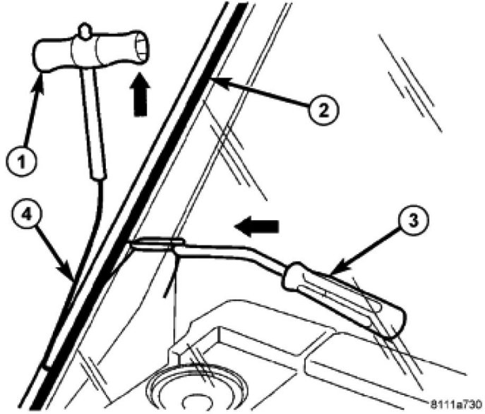
CAUTION: Be careful not to damage painted surfaces when removing moldings or cutting urethane around the windshield.

5. Remove molding from the top of the windshield.
6. Using an assistant and a wire-type windshield cut-out tool (1, 3 and 4), cut and separate the urethane adhesive (2) securing the windshield to the windshield fence.
7. Carefully remove the windshield from the vehicle.