LEMON Manuals: Even more car manuals for everyone: 1960-2025
Home >> Jeep >> 2008 >> Commander Overland, 4WD >> Repair and Diagnosis >> Body & Frame >> Windows >> Power Window System - Electrical Diagnostics >> Power Windows - Electrical Diagnostics >> DTC Troubleshooting >> B190E-Driver Window Switch Circuit Low >> Diagnostic Test
April 5, 2026: LEMON Manuals is launched! Read the announcement.

Diagnostic Test

  1. TEST FOR INTERMITTENT CONDITION 

    With the scan tool, record and erase DTC's

    Operate the Driver Window Switch in both positions several times.

    Cycle the ignition from on to off 3 times.

    Turn the ignition on.

    With the scan tool, read DTC's.

    Does the scan tool display B190E-DRIVER WINDOW SWITCH CIRCUIT LOW? 

    Yes 

    1. Go To  2.

    No 

    1. The conditions that caused this code to set are not present at this time. Using the wiring diagram/schematic as a guide, inspect the wiring and connectors.
    2. Perform BODY VERIFICATION TEST .
  2. DRIVER WINDOW/DOOR LOCK SWITCH SHORTED TO GROUND 
    Fig 1: Driver Window/Door Lock Switch C2 Connector
    GC0045678Courtesy of CHRYSLER LLC

    With the scan tool, erase DTC's.

    Disconnect the Driver Window/Door Lock Switch C2 connector.

    Turn the ignition on.

    With the scan tool, read DTC's.

    Does the scan tool display B190E-DRIVER WINDOW SWITCH CIRCUIT LOW? 

    No 

    1. Replace the Driver Window/Door Lock Switch.
    2. Perform BODY VERIFICATION TEST .

    Yes 

    1. Go To  3.
  3. (Q221) DRIVER EXPRESS SWITCH DRIVER WINDOW MUX WIRE SHORT TO GROUND 
    Fig 2: Measuring Resistance Between Ground And Driver Express Switch Driver Window MUX Circuit
    GC0045679Courtesy of CHRYSLER LLC

    Turn the ignition off.

    Disconnect the Driver Door Module C2 connector.

    Measure the resistance between ground and the (Q221) Driver Express Switch Driver Window MUX circuit in the Driver Door Module C2 connector.

    Is the resistance below 10000.0 ohms? 

    Yes 

    1. Repair the (Q221) Driver Express Switch Driver Window MUX circuit for a short to ground.
    2. Perform BODY VERIFICATION TEST .

    No 

    1. Go To  4.
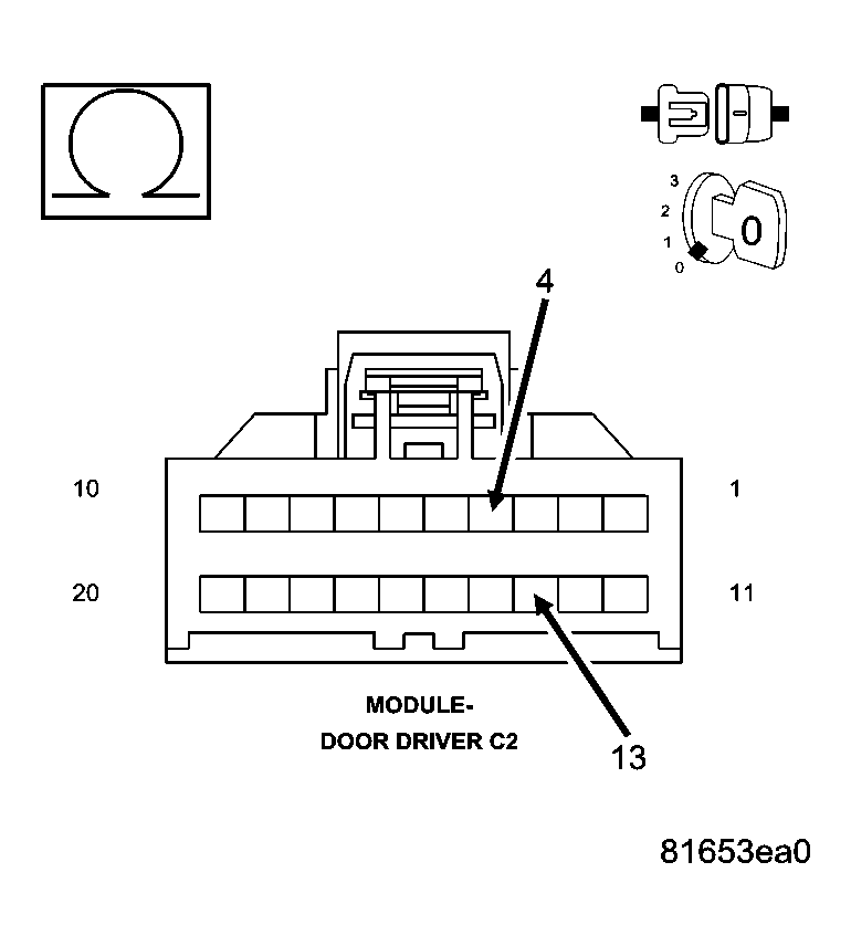
  4. (Q221) DRIVER EXPRESS SWITCH DRIVER WINDOW MUX WIRE SHORT TO THE (Q994) DRIVER EXPRESS SWITCH RETURN CIRCUIT 
    Fig 3: Measuring Resistance Between (Q994) Driver Express Switch Return Circuit And (Q221) Driver Express Switch Driver Window MUX Circuit In Driver Door Module C2 Connector
    GC0045680Courtesy of CHRYSLER LLC

    Measure the resistance between (Q994) Driver Express Switch Return circuit and the (Q221) Driver Express Switch Driver Window MUX circuit in the Driver Door Module C2 connector.

    Is the resistance below 1000.0 ohms? 

    Yes 

    1. Repair the (Q221) Driver Express Switch Driver Window MUX circuit for a short to the (Q994) Driver Express Switch Return circuit.
    2. Perform BODY VERIFICATION TEST .

    No 

    1. Replace the Driver Door Module in accordance with service information.
    2. Perform BODY VERIFICATION TEST .