LEMON Manuals: Even more car manuals for everyone: 1960-2025
Home >> Jeep >> 2008 >> Compass Limited, AWD, Automatic CVT >> Repair and Diagnosis (Single Page) >> Transmission >> Transmission Control Systems >> Continuously Variable Transmission (CVT) - Electrical Diagnostics >> Automatic - CVT-Electrical Diagnostics >> DTC Troubleshooting >> P0717-Input Speed Sensor 1 Circuit No Signal >> Diagnostic Test
April 5, 2026: LEMON Manuals is launched! Read the announcement.

Diagnostic Test

  1. CHECK IF THE DTC IS ACTIVE 

    With the scan tool, read Transmission DTCs.

    Is the status Active for this DTC or is the STARTS SINCE SET counter 2 or less? 

    Yes 

    1. Go To  2.

    No 

    1. Go To  9.
  2. CHECK IF BOTH SPEED SENSORS SHOW NO SIGNAL 

    With the scan tool, read Transmission DTCs.

    Are both the Input and Output Speed Sensor No Signal DTCs set? 

    Yes 

    1. Check the C106 connector for improper connection and repair as necessary.
    2. Perform CVT VERIFICATION TEST .
    3. If no problem is found with the C106 connector - Go To  3.

    No 

    1. Go To  3.
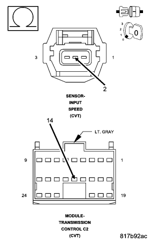
  3. CHECK THE (T16) TRANSMISSION CONTROL OUTPUT CIRCUIT FOR AN OPEN 
    Fig 1: Checking (T16) Transmission Control Output Circuit At Input Speed Sensor Harness Connector
    GC0056473Courtesy of CHRYSLER LLC

    Turn the ignition off to the lock position.

    Disconnect the Input Speed Sensor harness connector.

    Ignition on, engine not running.

    With the scan tool under TIPM, actuate the Transmission.

    Using a 12-volt test light connected to ground, check the (T16) Transmission Control Output circuit at the Input Speed Sensor harness connector.

    NOTE: The test light must illuminate brightly. Compare the brightness to that of a direct connection to the battery.

    Does the test light illuminate brightly? 

    Yes 

    1. Go To  4.

    No 

    1. Repair the (T16) Transmission Control Output circuit for an open or high resistance.
    2. Perform CVT VERIFICATION TEST .
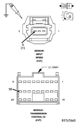
  4. CHECK THE (T14) INPUT SPEED SENSOR SIGNAL CIRCUIT SHORT TO VOLTAGE 
    Fig 2: Measuring Voltage Of (T14) Input Speed Sensor Signal Circuit
    GC0056474Courtesy of CHRYSLER LLC

    Turn the ignition off to the lock position.

    Disconnect the TCM C2 harness connector.

    Ignition on, engine not running.

    Measure the voltage of the (T14) Input Speed Sensor Signal circuit.

    Is the voltage above 0.5 volts? 

    Yes 

    1. Repair the (T14) Input Speed Sensor Signal circuit for a short to voltage.
    2. Perform CVT VERIFICATION TEST .

    No 

    1. Go To  5.
  5. CHECK THE (T14) INPUT SPEED SENSOR SIGNAL CIRCUIT FOR AN OPEN 
    Fig 3: Measuring Resistance Of (T14) Input Speed Sensor Signal Circuit Between Tcm C2 Harness Connector And Input Speed Sensor Harness Connector
    GC0056475Courtesy of CHRYSLER LLC

    Turn the ignition off to the lock position.

    Measure the resistance of the (T14) Input Speed Sensor Signal circuit between the TCM C2 harness connector and the Input Speed Sensor harness connector.

    Is the resistance below 5.0 ohms? 

    Yes 

    1. Go To  6.

    No 

    1. Repair the (T14) Input Speed Sensor Signal circuit for an open.
    2. Perform CVT VERIFICATION TEST .
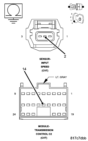
  6. CHECK THE (T14) INPUT SPEED SENSOR SIGNAL CIRCUIT FOR A SHORT TO GROUND 
    Fig 4: Measuring Resistance Between Ground And (T14) Input Speed Sensor Signal Circuit
    GC0056476Courtesy of CHRYSLER LLC

    Measure the resistance between ground and the (T14) Input Speed Sensor Signal circuit.

    Is the resistance below 5.0 ohms? 

    Yes 

    1. Repair the (T14) Input Speed Sensor Signal circuit for a short to ground.
    2. Perform CVT VERIFICATION TEST .

    No 

    1. Go To  7.
  7. CHECK THE (T13) SENSOR GROUND CIRCUIT FOR AN OPEN (HIGH RESISTANCE) 
    Fig 5: Checking (T13) Sensor Ground Circuit In TCM C2 Harness Connector
    GC0056477Courtesy of CHRYSLER LLC

    Turn the ignition off to the lock position.

    Disconnect the TCM C2 harness connector.

    Connect a jumper wire between the (T13) Sensor Ground circuit in the Input Speed Sensor harness connector and B(+).

    Using a 12-volt test light connected to ground, check the (T13) Sensor Ground circuit in the TCM C2 harness connector.

    Does the test light illuminate brightly? 

    Yes 

    1. Go To  8.

    No 

    1. Repair the (T13) Sensor Ground circuit for an open or high resistance.
    2. Perform CVT VERIFICATION TEST .
  8. CHECK THE INPUT SPEED SENSOR 

    Turn the ignition off to the lock position

    Replace the Input Speed Sensor per the Service Information.

    Reconnect all previously disconnected connectors.

    Ignition on, engine not running.

    With the scan tool, erase all Transmission DTCs.

    Perform CVT VERIFICATION TEST .

    NOTE: Make sure to perform a test drive of the vehicle.

    With the scan tool, read Transmission DTCs.

    Did the DTC P0717 reset? 

    Yes 

    1. Using the schematics as a guide, check the Transmission Control Module (TCM) terminals for corrosion, damage, or terminal push out. Pay particular attention to all power and ground circuits. Check for any Service Bulletins for possible causes that may apply. If no problems are found, replace the TCM per the Service Information.
    2. Perform CVT VERIFICATION TEST .

    No 

    1. Repair is complete.
  9. INTERMITTENT WIRING AND CONNECTORS 

    The conditions necessary to set this DTC are not present at this time.

    Using the schematics as a guide, inspect the wiring and connectors specific to this circuit.

    Wiggle the wires while checking for shorted and open circuits.

    Were there any problems found? 

    Yes 

    1. Repair as necessary.
    2. Perform CVT VERIFICATION TEST .

    No 

    1. Test Complete.